专利数据库
统计分析
产业报告
专利数据监控
产业人才
行业动态
产业政策法规
维权援助
个人中心
详情
文本
图像
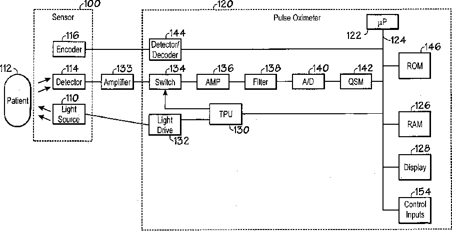
标题
Selection of filter parameters based on signal quality
授权日
1900-01-01
公开(公告)号
US20150320360A1
申请日
2015-03-16
公开(公告)日
2015-11-12
当前申请(专利权)人
COVIDIEN LP
发明人
STETSON, PAUL F.
简单同族
CA2512579A1 | CA2512579C | EP1586051A1 | EP1586051B1 | JP2006512990A | JP2010227602A | US20040138538A1 | US20060030766A1 | US20150320360A1 | US7016715 | US8983800 | WO2004066161A1
简单同族成员数量
12
简单同族被引用专利总数
194
诉讼案件数
0
法律状态/事件
撤回
抱歉,您的浏览器不支持PDF预览,请点击链接下载PDF文件