专利数据库
统计分析
产业报告
专利数据监控
产业人才
行业动态
产业政策法规
维权援助
个人中心
详情
文本
图像
标题
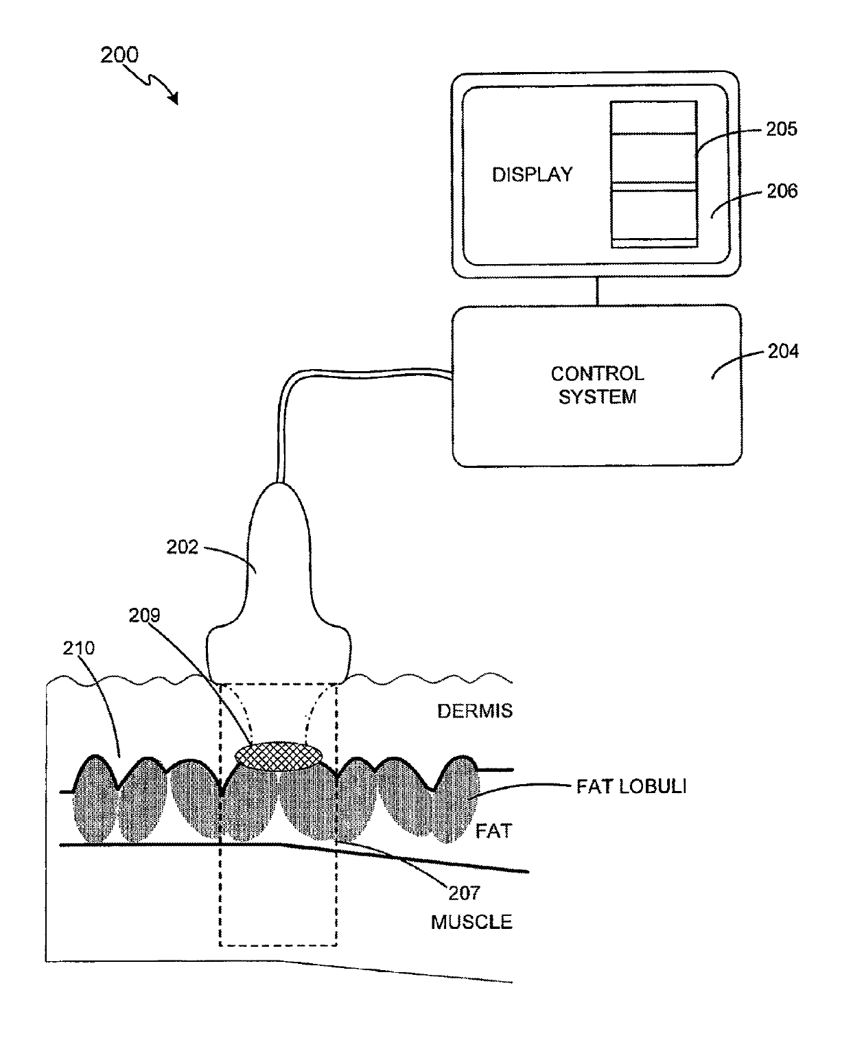
Energy based fat reduction
授权日
2019-03-26
公开(公告)号
US10238894
申请日
2018-06-01
公开(公告)日
2019-03-26
当前申请(专利权)人
GUIDED THERAPY SYSTEMS, L.L.C.
发明人
SLAYTON, MICHAEL H. | BARTHE, PETER G.
简单同族
CA2748362A1 | EP2382010A2 | EP2382010A4 | JP2012513837A | KR1020110101204A | US10010721 | US10238894 | US10603519 | US20100160782A1 | US20140180174A1 | US20150088182A1 | US20160158580A1 | US20170095680A1 | US20170312549A1 | US20180104515A1 | US20180272156A1 | US20190184203A1 | US20200179727A1 | US8663112 | US8920324 | US9283409 | US9533175 | US9713731 | US9833639 | WO2010075547A2 | WO2010075547A9
简单同族成员数量
26
简单同族被引用专利总数
174
诉讼案件数
0
法律状态/事件
授权 | 权利转移
抱歉,您的浏览器不支持PDF预览,请点击链接下载PDF文件