专利数据库
统计分析
产业报告
专利数据监控
产业人才
行业动态
产业政策法规
维权援助
个人中心
详情
文本
图像
标题
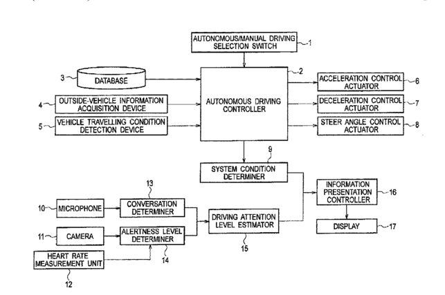
Vehicle information presenting apparatus
授权日
2017-12-12
公开(公告)号
US9840257
申请日
2014-04-02
公开(公告)日
2017-12-12
当前申请(专利权)人
NISSAN MOTOR CO., LTD.
发明人
EBINA, AKIHIKO
简单同族
CN106163858A | CN106163858B | EP3128498A1 | EP3128498A4 | EP3128498B1 | JP6323549B2 | JPWO2015151243A1 | MX2016012854A | MX364029B | RU2016142441A | RU2016142441A3 | RU2668149C2 | US20170021837A1 | US9840257 | WO2015151243A1
简单同族成员数量
15
简单同族被引用专利总数
83
诉讼案件数
0
法律状态/事件
授权 | 权利转移
抱歉,您的浏览器不支持PDF预览,请点击链接下载PDF文件