专利数据库
统计分析
产业报告
专利数据监控
产业人才
行业动态
产业政策法规
维权援助
个人中心
详情
文本
图像
标题
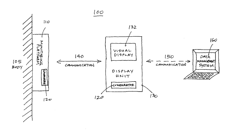
Metabolic energy monitoring system
授权日
1900-01-01
公开(公告)号
US20180000391A1
申请日
2016-11-21
公开(公告)日
2018-01-04
当前申请(专利权)人
PHILOMETRON, INC.
发明人
EDMAN, CARL FREDERICK | BHAVARAJU, NARESH CHANDRA | DRINAN, DARREL DEAN
简单同族
AU2009238661A1 | CA2758827A1 | CN102065754A | EP2280640A2 | EP2280640A4 | EP3260043A1 | JP2011519592A | KR1020100139144A | US20100049004A1 | US20140343861A1 | US20180000391A1 | US8690769 | WO2009131664A2 | WO2009131664A3
简单同族成员数量
14
简单同族被引用专利总数
200
诉讼案件数
0
法律状态/事件
撤回 | 权利转移
抱歉,您的浏览器不支持PDF预览,请点击链接下载PDF文件