专利数据库
统计分析
产业报告
专利数据监控
产业人才
行业动态
产业政策法规
维权援助
个人中心
详情
文本
图像
标题
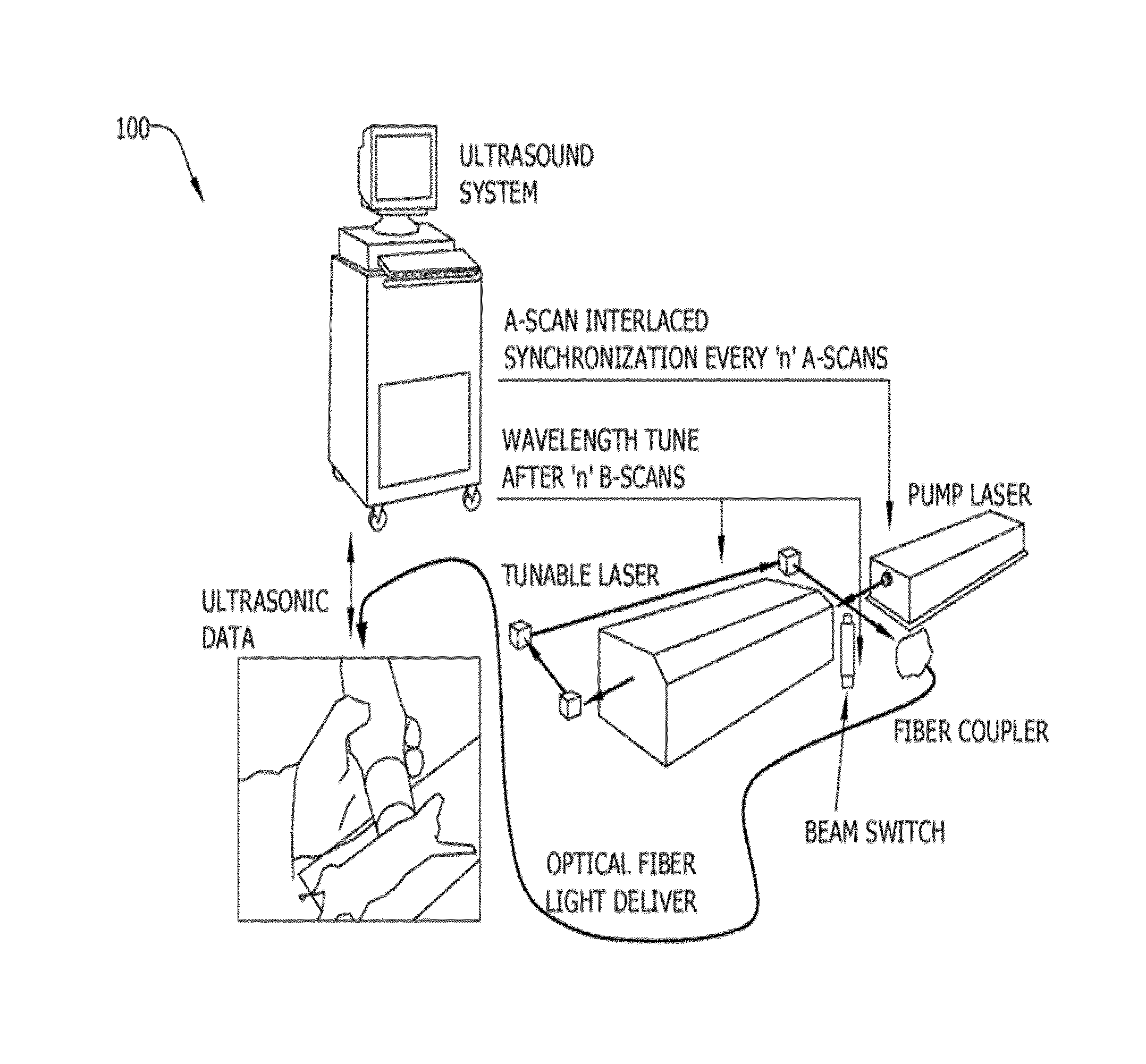
Single-cell label-free photoacoustic flowoxigraphy in vivo
授权日
1900-01-01
公开(公告)号
US20160249812A1
申请日
2016-05-06
公开(公告)日
2016-09-01
当前申请(专利权)人
WASHINGTON UNIVERSITY
发明人
WANG, LIHONG | WANG, LIDAI | MASLOV, KONSTANTIN
简单同族
CN101918811A | CN101918811B | EP2203733A2 | EP2203733A4 | EP2203733B1 | EP3229010A2 | EP3229010A3 | JP2011519281A | JP2011519281A5 | JP2015062678A | JP5643101B2 | JP6006773B2 | US10433733 | US20100268042A1 | US20130245406A1 | US20160081558A1 | US20160249812A1 | US8454512 | US9226666 | WO2009055705A2 | WO2009055705A3
简单同族成员数量
21
简单同族被引用专利总数
232
诉讼案件数
0
法律状态/事件
授权 | 许可 | 权利转移
抱歉,您的浏览器不支持PDF预览,请点击链接下载PDF文件