专利数据库
统计分析
产业报告
专利数据监控
产业人才
行业动态
产业政策法规
维权援助
个人中心
详情
文本
图像
标题
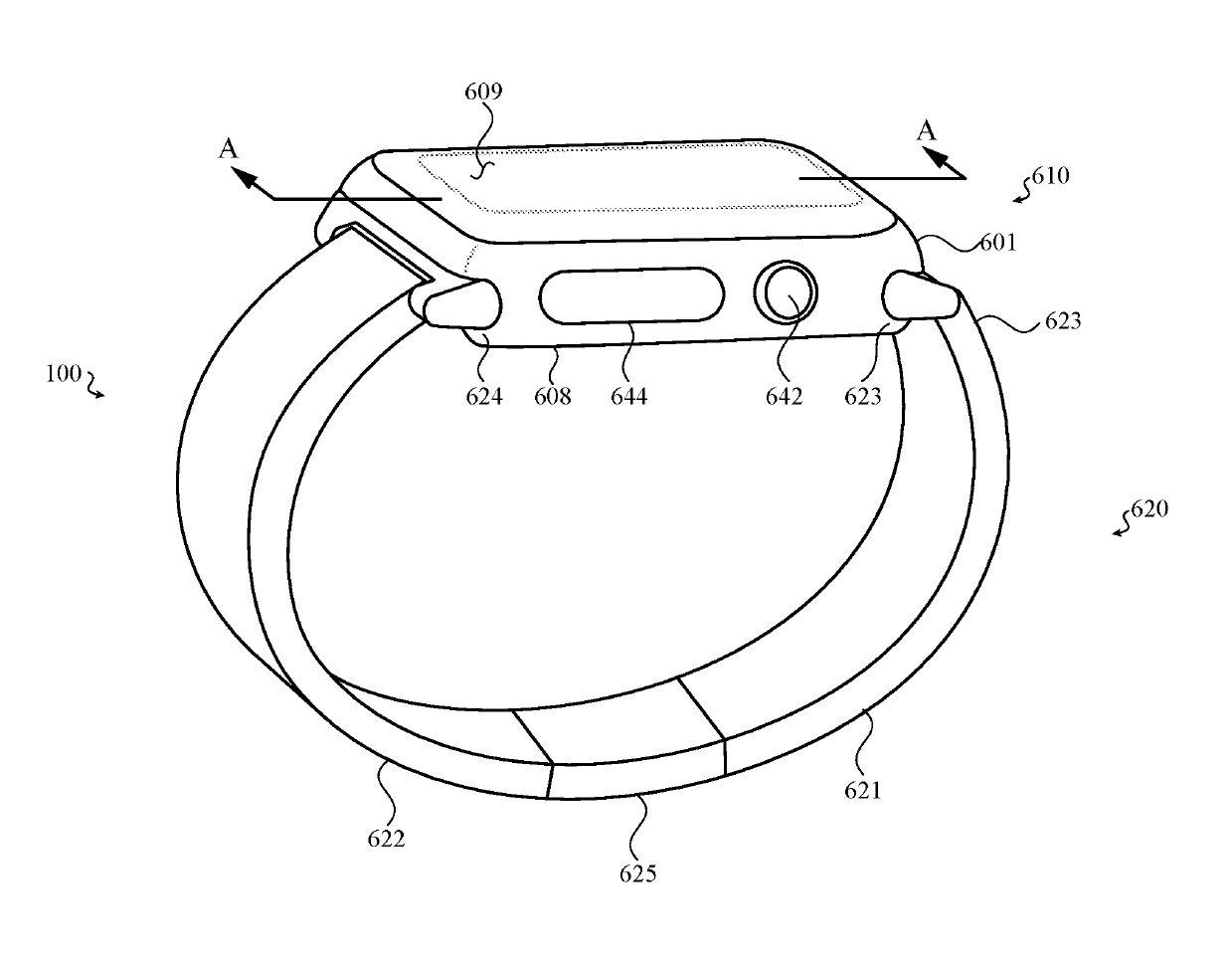
Wearable electronic device
授权日
2020-04-21
公开(公告)号
US10627783
申请日
2016-09-10
公开(公告)日
2020-04-21
当前申请(专利权)人
APPLE INC.
发明人
ROTHKOPF, FLETCHER R. | IVE, JONATHAN | HOENIG, JULIAN | ZORKENDORFER, RICO
简单同族
CN205121417U | DE212015000214U1 | KR1020190097314A | KR102130259B1 | KR2020170001187U | TW201626121A | TW201732467A | TWI596455B | TWI636350B | US10599101 | US10613485 | US10620591 | US10627783 | US20160058375A1 | US20160378069A1 | US20160378070A1 | US20160378071A1 | WO2016036747A1
简单同族成员数量
18
简单同族被引用专利总数
180
诉讼案件数
0
法律状态/事件
授权 | 权利转移
抱歉,您的浏览器不支持PDF预览,请点击链接下载PDF文件