专利数据库
统计分析
产业报告
专利数据监控
产业人才
行业动态
产业政策法规
维权援助
个人中心
详情
文本
图像
标题
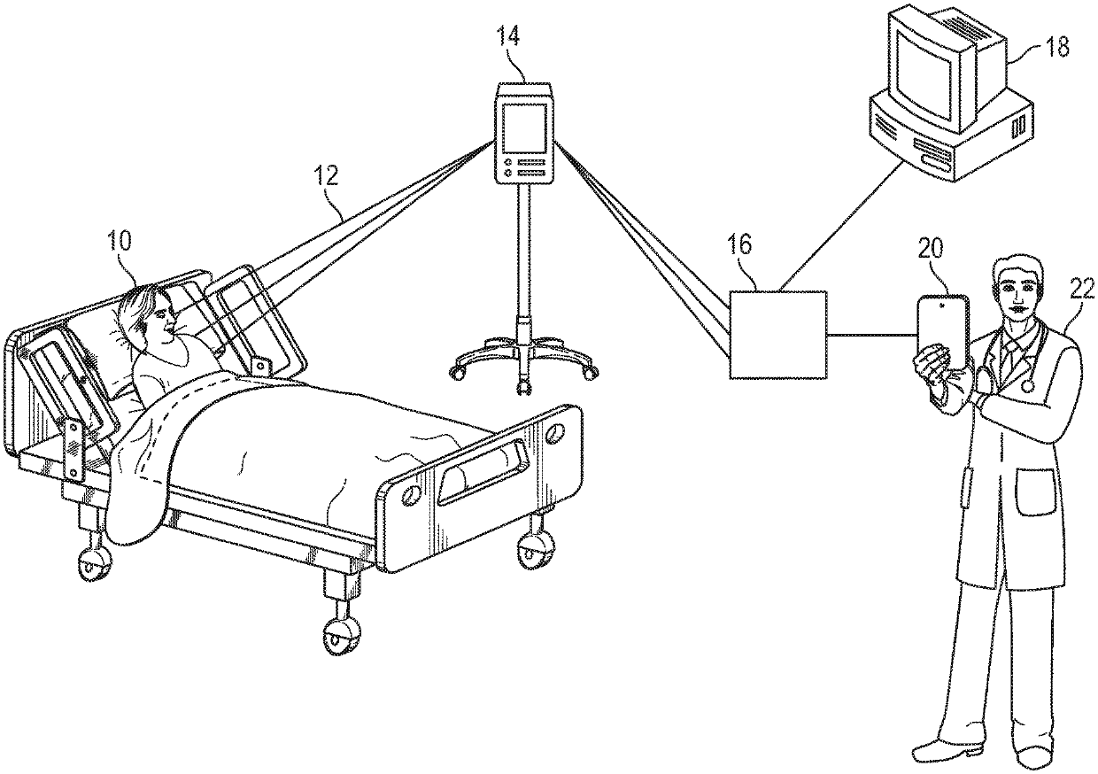
False alarm reduction systems and related methods
授权日
2020-05-12
公开(公告)号
US10650667
申请日
2018-11-19
公开(公告)日
2020-05-12
当前申请(专利权)人
ARIZONA BOARD OF REGENTS ACTING FOR AND ON BEHALF OF NORTHERN ARIZONA UNIVERSITY | THE REGENTS OF THE UNIVERSITY OF MICHIGAN
发明人
AFGHAH, FATEMEH | RAZI, ABOLFAZL | NAJARIAN, KAYVAN | SOROUSHMEHR, SAYEDMOHAMMADREZA
简单同族
US10650667
简单同族成员数量
1
简单同族被引用专利总数
0
诉讼案件数
0
法律状态/事件
授权 | 权利转移
抱歉,您的浏览器不支持PDF预览,请点击链接下载PDF文件