专利数据库
统计分析
产业报告
专利数据监控
产业人才
行业动态
产业政策法规
维权援助
个人中心
详情
文本
图像
标题
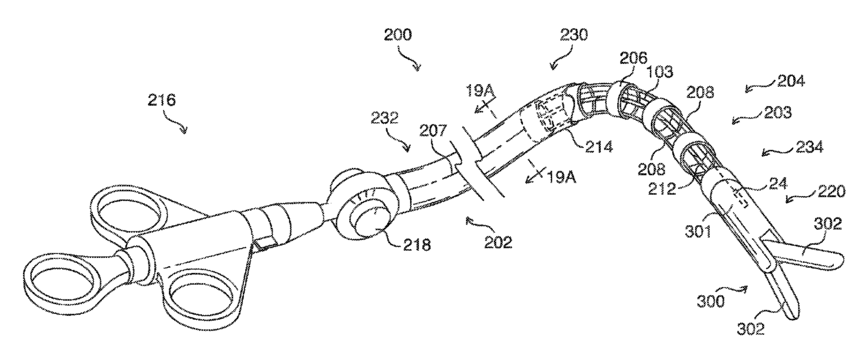
Steerable surgical catheter having biopsy devices and related systems and methods for four dimensional soft tissue navigation
授权日
2018-05-15
公开(公告)号
US9972082
申请日
2013-02-22
公开(公告)日
2018-05-15
当前申请(专利权)人
VERAN MEDICAL TECHNOLOGIES, INC.
发明人
HOLSING, TROY L. | HUNTER, MARK | STERN, EVAN
简单同族
EP2816966A1 | EP2816966A4 | US10140704 | US10249036 | US10460437 | US20130223702A1 | US20130225942A1 | US20130225943A1 | US20130231556A1 | US20150379710A1 | US20170236272A1 | US20190213735A1 | US20190220976A1 | US9138165 | US9972082 | WO2013126659A1
简单同族成员数量
16
简单同族被引用专利总数
196
诉讼案件数
0
法律状态/事件
授权 | 质押 | 权利转移
抱歉,您的浏览器不支持PDF预览,请点击链接下载PDF文件