专利数据库
统计分析
产业报告
专利数据监控
产业人才
行业动态
产业政策法规
维权援助
个人中心
详情
文本
图像
标题
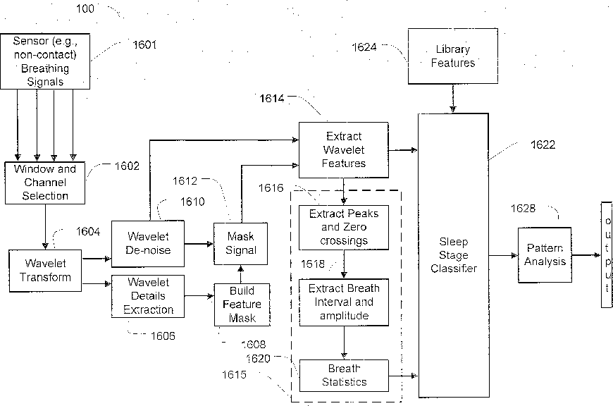
System and method for determining sleep stage
授权日
1900-01-01
公开(公告)号
US20150230750A1
申请日
2013-09-19
公开(公告)日
2015-08-20
当前申请(专利权)人
RESMED SENSOR TECHNOLOGIES LIMITED
发明人
MCDARBY, GARETH | O'HARE, EMER | PHILLIPS, PAUL | HENEGHAN, CONOR | MURRAY, TREVOR
简单同族
AU2013318046A1 | AU2013318046B2 | AU2016204561A1 | AU2016204561B2 | CA2883656A1 | CN104812300A | CN104812300B | CN107647868A | EP2897526A1 | EP2897526A4 | JP2015532855A | JP2019048054A | JP6404819B2 | KR1020150058344A | KR1020200032248A | KR102091167B1 | NZ630602A | NZ630602B | NZ725344A | NZ725344B | US10492720 | US10660563 | US20140088373A1 | US20150230750A1 | WO2014047310A1 | WO2014047310A4
简单同族成员数量
26
简单同族被引用专利总数
81
诉讼案件数
0
法律状态/事件
授权 | 权利转移
抱歉,您的浏览器不支持PDF预览,请点击链接下载PDF文件