专利数据库
统计分析
产业报告
专利数据监控
产业人才
行业动态
产业政策法规
维权援助
个人中心
详情
文本
图像
标题
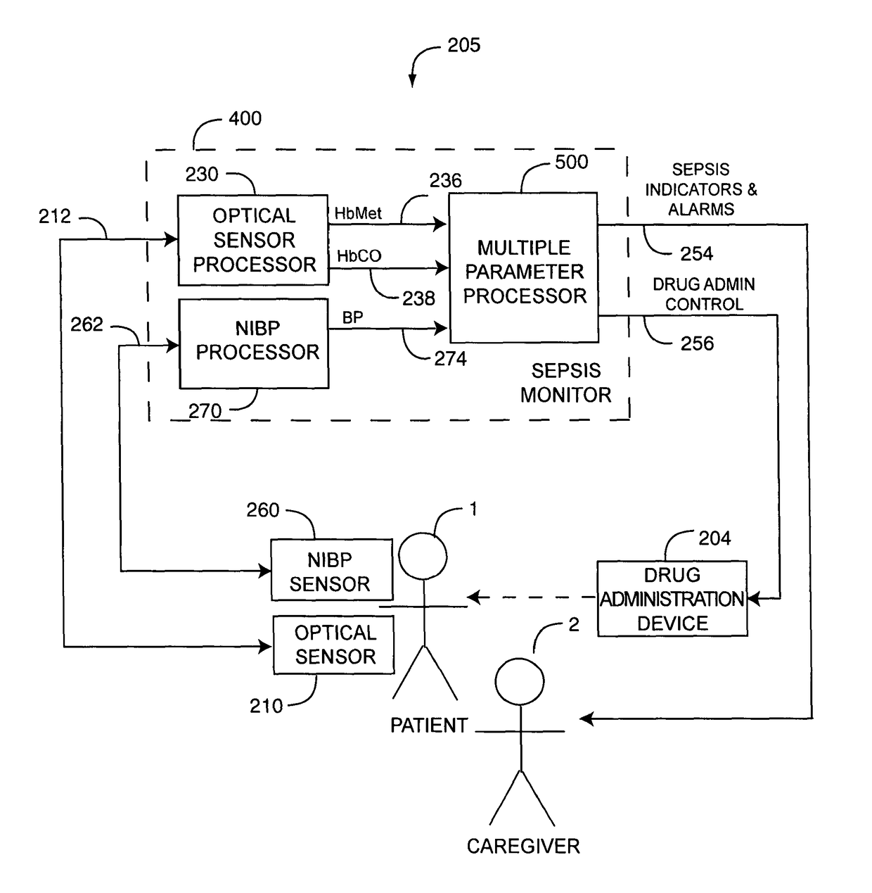
Sepsis monitor
授权日
2019-03-12
公开(公告)号
US10226576
申请日
2014-02-27
公开(公告)日
2019-03-12
当前申请(专利权)人
MASIMO CORPORATION
发明人
KIANI, MASSI E.
简单同族
US10226576 | US20080091088A1 | US20110208018A1 | US20140180038A1 | US20190201623A1 | US7941199 | US8663107
简单同族成员数量
7
简单同族被引用专利总数
411
诉讼案件数
0
法律状态/事件
授权 | 权利转移
抱歉,您的浏览器不支持PDF预览,请点击链接下载PDF文件