专利数据库
统计分析
产业报告
专利数据监控
产业人才
行业动态
产业政策法规
维权援助
个人中心
详情
文本
图像
标题
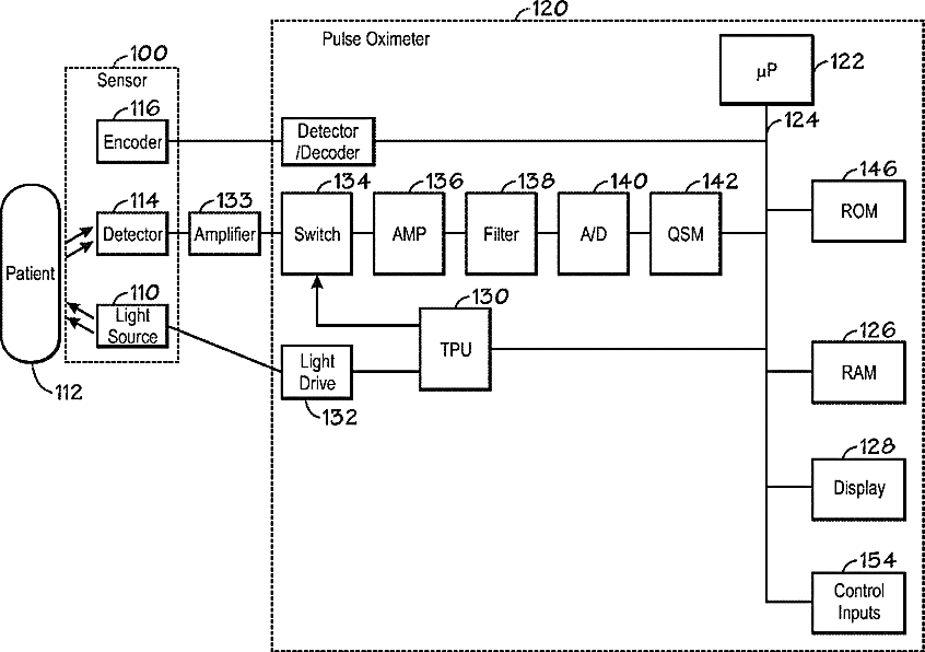
Selection of ensemble averaging weights for a pulse oximeter based on signal qualtiy metrics
授权日
1900-01-01
公开(公告)号
US20140031652A1
申请日
2013-10-01
公开(公告)日
2014-01-30
当前申请(专利权)人
COVIDIEN LP
发明人
BAKER, JR., CLARK R.
简单同族
AU2005221652A1 | CA2557240A1 | CA2557240C | CN1929779A | EP1729631A1 | EP1729631B1 | EP2260758A2 | EP2260758A3 | EP2260758A9 | HK1100520A | JP2007527772A | KR1020060134112A | MXPA06010306A | US20050197549A1 | US20070208242A1 | US20090082651A1 | US20110092785A1 | US20140031652A1 | US7194293 | US7474907 | US7890154 | US8560036 | US9211090 | WO2005087095A1
简单同族成员数量
24
简单同族被引用专利总数
163
诉讼案件数
0
法律状态/事件
授权 | 权利转移
抱歉,您的浏览器不支持PDF预览,请点击链接下载PDF文件