专利数据库
统计分析
产业报告
专利数据监控
产业人才
行业动态
产业政策法规
维权援助
个人中心
详情
文本
图像
标题
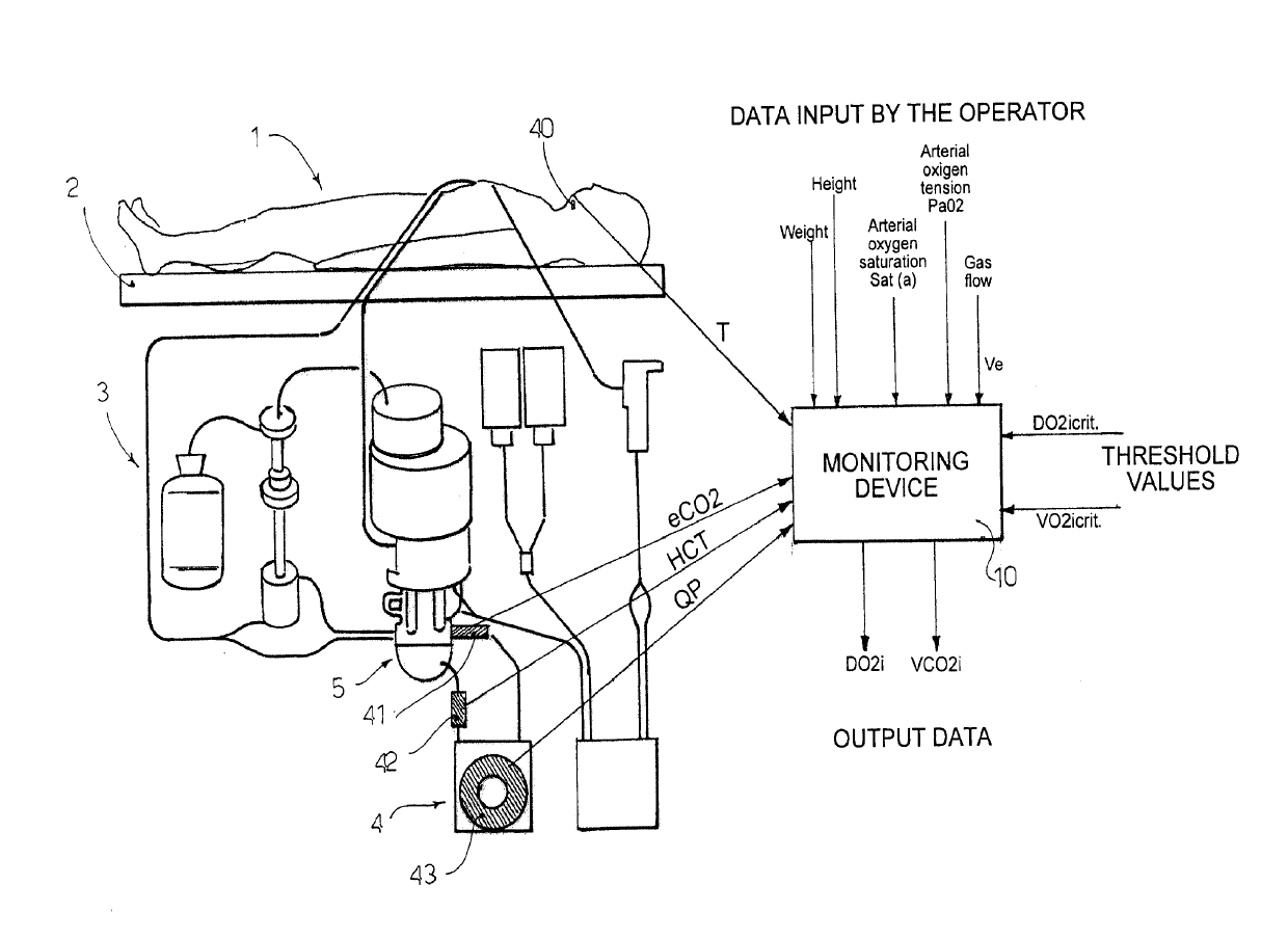
Monitoring systems for cardiac surgical operations with cardiopulmonary bypass
授权日
1900-01-01
公开(公告)号
US20190104986A1
申请日
2018-12-06
公开(公告)日
2019-04-11
当前申请(专利权)人
SORIN GROUP ITALIA, S.R.L.
发明人
RANUCCI, MARCO
简单同族
AT434971T | DE602005015192D1 | EP1721571A2 | EP1721571A3 | EP1721571B1 | EP2092881A1 | EP2092881B1 | IT1365556B1 | ITMI2005000866A1 | JP2006314800A | JP4624301B2 | US10039490 | US20060257283A1 | US20090043173A1 | US20090043212A1 | US20090043219A1 | US20130096398A1 | US20140050616A1 | US20140296676A1 | US20150272487A1 | US20190104986A1 | US7435220 | US7927286 | US7931601 | US8690784
简单同族成员数量
25
简单同族被引用专利总数
65
诉讼案件数
0
法律状态/事件
实质审查 | 权利转移
抱歉,您的浏览器不支持PDF预览,请点击链接下载PDF文件