专利数据库
统计分析
产业报告
专利数据监控
产业人才
行业动态
产业政策法规
维权援助
个人中心
详情
文本
图像
标题
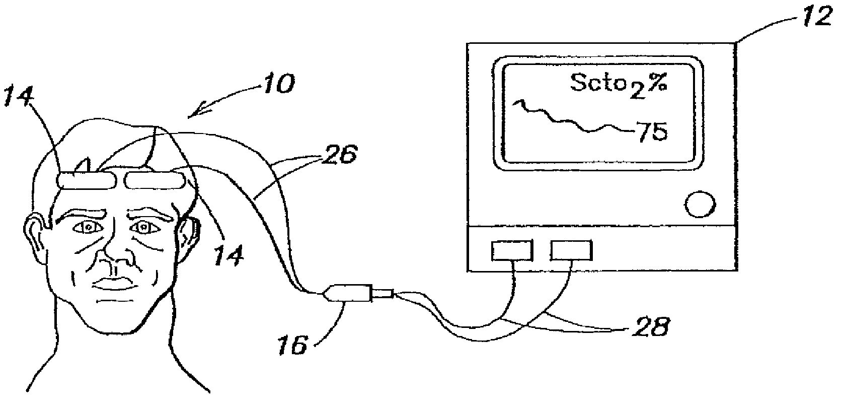
Method for spectrophotometric blood oxygenation monitoring
授权日
2018-11-06
公开(公告)号
US10117610
申请日
2016-10-03
公开(公告)日
2018-11-06
当前申请(专利权)人
EDWARDS LIFESCIENCES CORPORATION
发明人
BENNI, PAUL B.
简单同族
AU2006247746A1 | AU2006247746B2 | AU2010227077A1 | AU2010227077B2 | CA2608426A1 | CA2608426C | EP1885235A1 | EP1885235A4 | EP1885235B1 | EP2708180A1 | EP2708180B1 | JP2008539968A | JP5175179B2 | US10117610 | US20090281403A1 | US20140094668A1 | US20150201872A1 | US20170086721A1 | US8396526 | US8923943 | US9456773 | WO2006124455A1 | WO2006124455B1
简单同族成员数量
23
简单同族被引用专利总数
76
诉讼案件数
0
法律状态/事件
授权 | 权利转移
抱歉,您的浏览器不支持PDF预览,请点击链接下载PDF文件