专利数据库
统计分析
产业报告
专利数据监控
产业人才
行业动态
产业政策法规
维权援助
个人中心
详情
文本
图像
标题
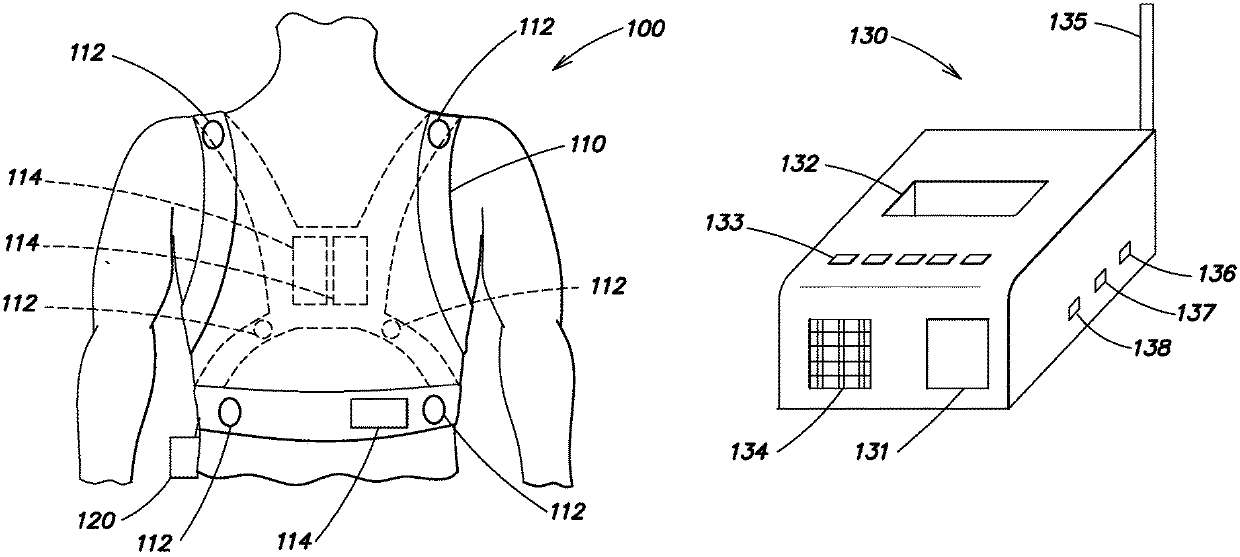
Remote medical device alarm
授权日
1900-01-01
公开(公告)号
US20200114159A1
申请日
2019-10-28
公开(公告)日
2020-04-16
当前申请(专利权)人
ZOLL MEDICAL CORPORATION
发明人
KAIB, THOMAS E. | VOLPE, SHANE S. | RATTANNI, RICHARD A.
简单同族
EP2638530A1 | JP2014502448A | JP2014502448A5 | JP2016209603A | JP2018075416A | JP2019088794A | JP5950924B2 | JP6270915B2 | JP6453433B2 | US10159849 | US10485982 | US20120112903A1 | US20150109125A1 | US20180110996A1 | US20190091482A1 | US20200114159A1 | US9925387 | US9937355 | WO2012064604A1
简单同族成员数量
19
简单同族被引用专利总数
211
诉讼案件数
0
法律状态/事件
公开 | 权利转移
抱歉,您的浏览器不支持PDF预览,请点击链接下载PDF文件