专利数据库
统计分析
产业报告
专利数据监控
产业人才
行业动态
产业政策法规
维权援助
个人中心
详情
文本
图像
标题
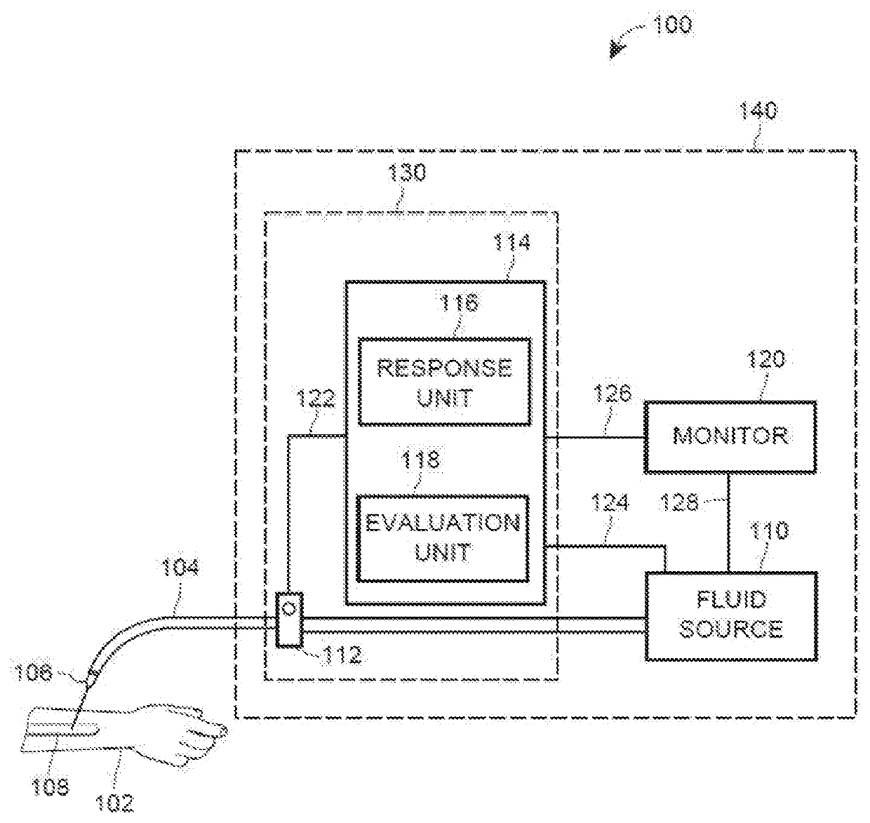
System and method for monitoring and determining patient parameters from sensed venous waveform
授权日
1900-01-01
公开(公告)号
US20190343408A1
申请日
2018-08-22
公开(公告)日
2019-11-14
当前申请(专利权)人
BAXTER INTERNATIONAL INC. | BAXTER HEALTHCARE SA
发明人
HANDLER, JONATHAN | MARTUCCI, JAMES | HOCKING, KYLE | EAGLE, SUSAN | BROPHY, COLLEEN | BOYER, RICHARD | BAUDENBACHER, FRANZ
简单同族
US20190343408A1
简单同族成员数量
1
简单同族被引用专利总数
0
诉讼案件数
0
法律状态/事件
实质审查 | 权利转移
抱歉,您的浏览器不支持PDF预览,请点击链接下载PDF文件