专利数据库
统计分析
产业报告
专利数据监控
产业人才
行业动态
产业政策法规
维权援助
个人中心
详情
文本
图像
标题
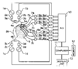
Optical system for measuring metabolism in a body and imaging method
授权日
2010-05-11
公开(公告)号
US7715904
申请日
2005-01-19
公开(公告)日
2010-05-11
当前申请(专利权)人
HITACHI, LTD.
发明人
MAKI, ATSUSHI | KOIZUMI, HIDEAKI | KAWAGUCHI, FUMIO | YAMASHITA, YUICHI | ITO, YOSHITOSHI
简单同族
US20010047131A1 | US20050131303A1 | US20050148857A1 | US20050171440A1 | US5803909 | US6128517 | US6282438 | US7286870 | US7440794 | US7715904 | US8050744
简单同族成员数量
11
简单同族被引用专利总数
204
诉讼案件数
0
法律状态/事件
未缴年费
抱歉,您的浏览器不支持PDF预览,请点击链接下载PDF文件