专利数据库
统计分析
产业报告
专利数据监控
产业人才
行业动态
产业政策法规
维权援助
个人中心
详情
文本
图像
标题
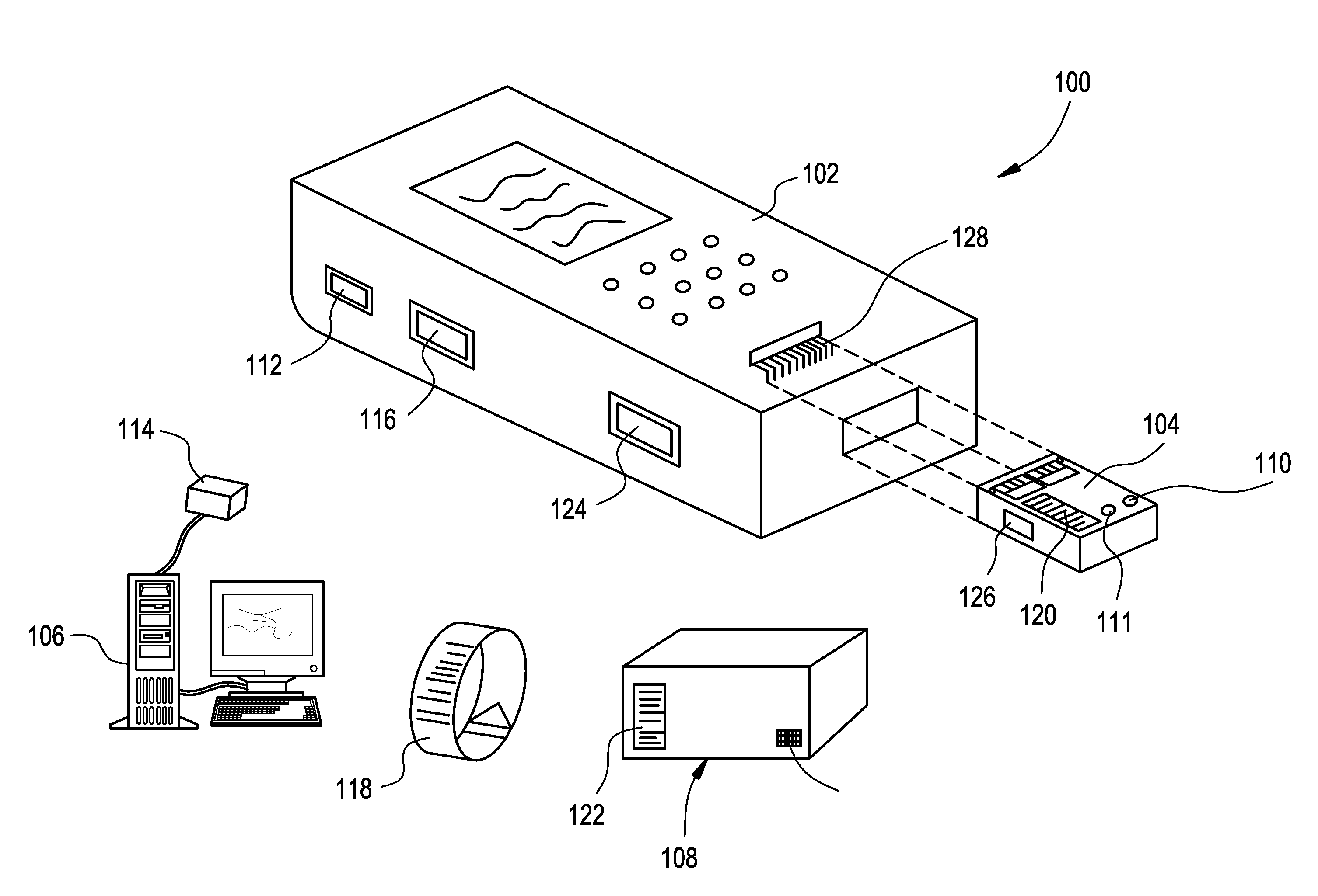
Point-of-Care Inventory Management System and Method
授权日
1900-01-01
公开(公告)号
US20110166427A1
申请日
2011-03-18
公开(公告)日
2011-07-07
当前申请(专利权)人
ABBOTT POINT OF CARE INC.
发明人
TIRINATO, JODY ANN | ZELIN, MICHAEL P. | GIBSON, PAUL ANDREW | ZALTSMAN, LYUDMILA | DAVIS, GRAHAM
简单同族
CA2519480A1 | CA2519480C | EP1604317A2 | EP1604317A4 | JP2006524388A | JP4658922B2 | US10024734 | US20040181528A1 | US20070233583A1 | US20090204513A1 | US20110166427A1 | US20140348204A1 | US7263501 | US7552071 | US7912754 | US8831983 | WO2004081746A2 | WO2004081746A3
简单同族成员数量
18
简单同族被引用专利总数
183
诉讼案件数
0
法律状态/事件
授权
抱歉,您的浏览器不支持PDF预览,请点击链接下载PDF文件