专利数据库
统计分析
产业报告
专利数据监控
产业人才
行业动态
产业政策法规
维权援助
个人中心
详情
文本
图像
标题
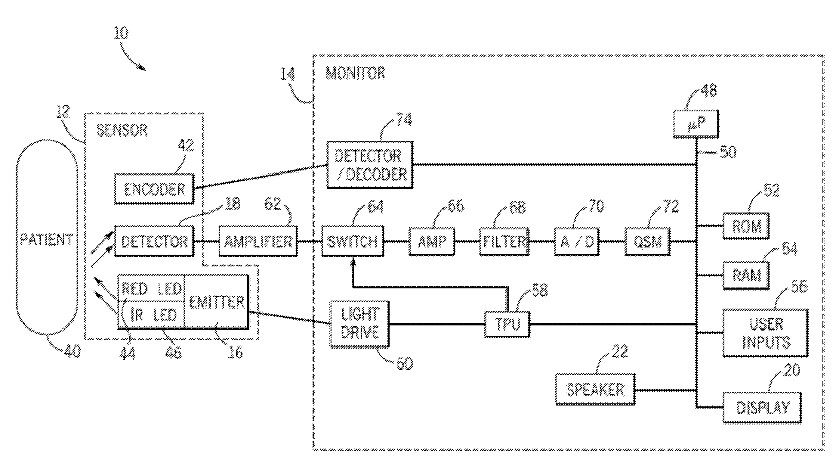
Processing and detecting baseline changes in signals
授权日
1900-01-01
公开(公告)号
US20090326353A1
申请日
2008-10-03
公开(公告)日
2009-12-31
当前申请(专利权)人
NELLCOR PURITAN BENNETT IRELAND
发明人
WATSON, JAMES | STANLEY, PAUL
简单同族
AU2009265258A1 | AU2009265258B2 | CA2728056A1 | EP2303104A2 | EP2303104B1 | JP2011526511A | US20090326353A1 | US20140012110A1 | US20160302737A1 | US8660799 | US9378332 | WO2010001231A2 | WO2010001231A3
简单同族成员数量
13
简单同族被引用专利总数
78
诉讼案件数
0
法律状态/事件
未缴年费 | 权利转移
抱歉,您的浏览器不支持PDF预览,请点击链接下载PDF文件