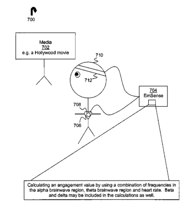
Method and system for measuring and ranking an "engagement" response to audiovisual or interactive media, products, or activities using physiological signals
授权日
2014-07-01
公开(公告)号
US8764652
申请日
2007-08-28
公开(公告)日
2014-07-01
当前申请(专利权)人
THE NIELSEN COMPANY (US), LLC., A DELAWARE LIMITED LIABILITY COMPANY
发明人
LEE, HANS C. | HONG, TIMMIE T. | WILLIAMS, WILLIAM H. | FETTIPLACE, MICHAEL R. | LEE, MICHAEL J.