专利数据库
统计分析
产业报告
专利数据监控
产业人才
行业动态
产业政策法规
维权援助
个人中心
详情
文本
图像
标题
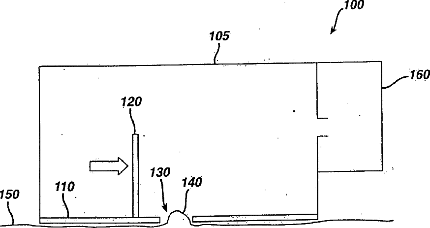
Tissue Ablation by Shear Force for Sampling Biological Fluids and Delivering Active Agents
授权日
1900-01-01
公开(公告)号
US20090005659A1
申请日
2008-07-28
公开(公告)日
2009-01-01
当前申请(专利权)人
KOLLIAS NIKIFOROS | SUN YING | ANTHONY F COSTON
发明人
KOLLIAS, NIKIFOROS | SUN, YING | ANTHONY F., COSTON
简单同族
AU2001259324A1 | AU2001259324B2 | CA2407380A1 | EP1303331A1 | JP2003531698A | US20020058902A1 | US20090005659A1 | US7404815 | WO2001083027A2
简单同族成员数量
9
简单同族被引用专利总数
193
诉讼案件数
0
法律状态/事件
撤回
抱歉,您的浏览器不支持PDF预览,请点击链接下载PDF文件