专利数据库
统计分析
产业报告
专利数据监控
产业人才
行业动态
产业政策法规
维权援助
个人中心
详情
文本
图像
标题
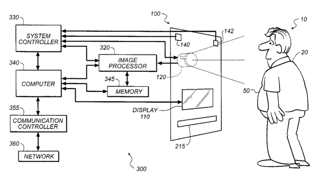
Capturing data for individual physiological monitoring
授权日
2014-09-09
公开(公告)号
US8831299
申请日
2007-05-22
公开(公告)日
2014-09-09
当前申请(专利权)人
MONUMENT PEAK VENTURES, LLC
发明人
KURTZ, ANDREW F. | GOBEYN, KEVIN M. | OLSON, DONALD E. | BORDER, JOHN N.
简单同族
EP2146636A2 | EP2146636B1 | US10192033 | US20080292151A1 | US20140348403A1 | US20160188831A1 | US8831299 | US9298883 | WO2009045235A2 | WO2009045235A3
简单同族成员数量
10
简单同族被引用专利总数
179
诉讼案件数
0
法律状态/事件
未缴年费 | 质押 | 权利转移
抱歉,您的浏览器不支持PDF预览,请点击链接下载PDF文件