专利数据库
统计分析
产业报告
专利数据监控
产业人才
行业动态
产业政策法规
维权援助
个人中心
详情
文本
图像
标题
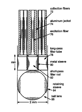
Systems and methods for spectroscopy of biological tissue
授权日
2010-01-12
公开(公告)号
US7647092
申请日
2002-06-21
公开(公告)日
2010-01-12
当前申请(专利权)人
MASSACHUSETTS INSTITUTE OF TECHNOLOGY
发明人
MOTZ, JASON T. | GALINDO, LUIS H. | HUNTER, MARTIN | DASARI, RAMACHANDRA | FELD, MICHAEL S.
简单同族
EP2325623A2 | EP2325623A3 | EP2327978A2 | EP2327978A3 | US20030191398A1 | US7647092 | WO2003087793A1
简单同族成员数量
7
简单同族被引用专利总数
198
诉讼案件数
0
法律状态/事件
授权 | 许可 | 权利转移
抱歉,您的浏览器不支持PDF预览,请点击链接下载PDF文件