专利数据库
统计分析
产业报告
专利数据监控
产业人才
行业动态
产业政策法规
维权援助
个人中心
详情
文本
图像
标题
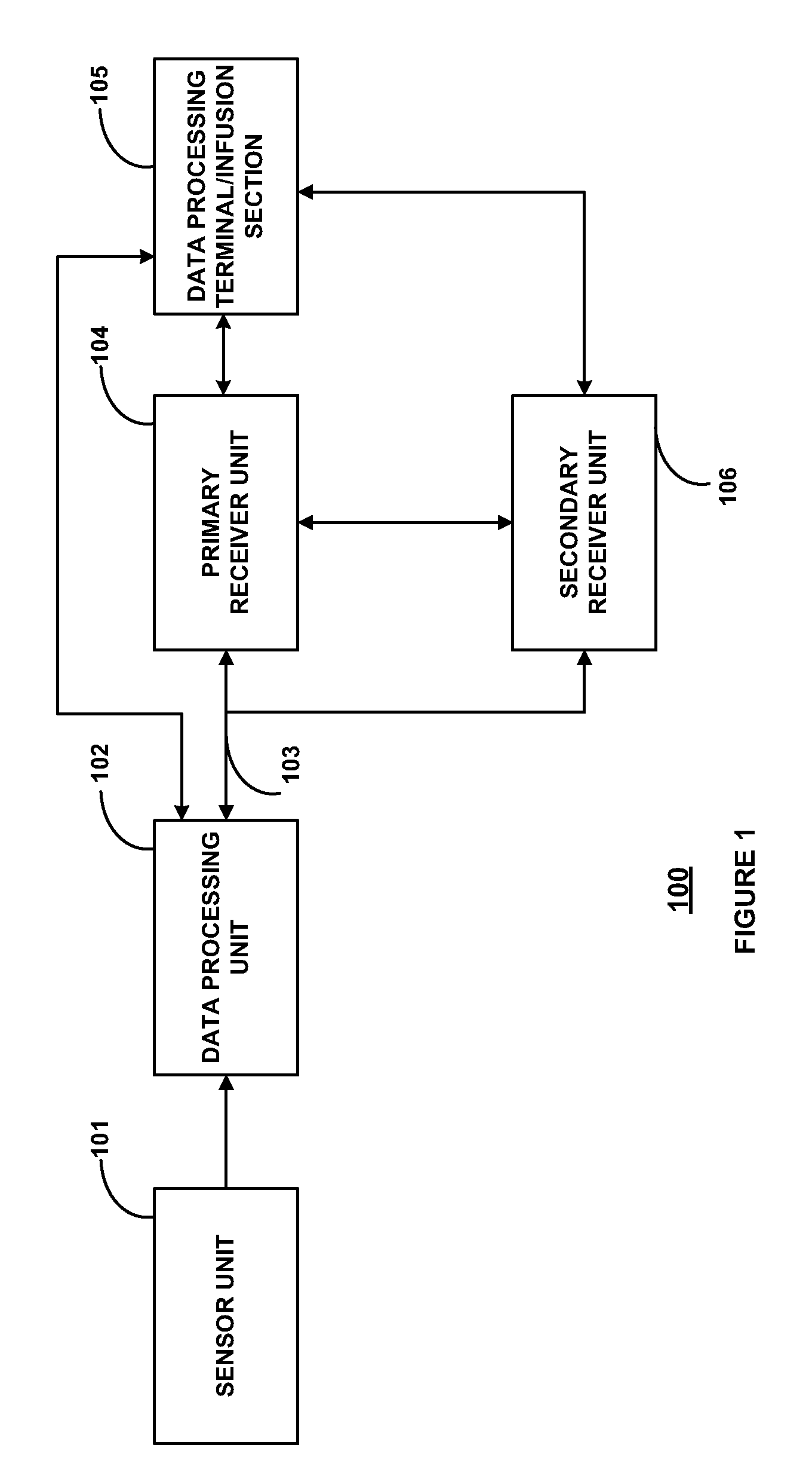
Health monitor
授权日
2013-12-31
公开(公告)号
US8617069
申请日
2008-06-20
公开(公告)日
2013-12-31
当前申请(专利权)人
ABBOTT DIABETES CARE, INC.
发明人
BERNSTEIN, DANIEL | WATKIN, JARED | FENNELL, MARTIN J. | SLOAN, MARK K. | LOVE, MICHAEL | KIAIE, NAMVAR | COLE, JEAN-PIERRE | SCOTT, STEVE
简单同族
AU2008265542A1 | AU2008265542B2 | CA2690870A1 | CA2690870C | CN101686804A | CN101686804B | CN103251414A | CN103251414B | EP2166928A1 | EP2166928A4 | EP2166928B1 | EP3473167A1 | JP2010531169A | JP2010531169A5 | JP2015027523A | JP2017060795A | JP2018118077A | US20080319296A1 | US20100076280A1 | US20100076289A1 | US20100076290A1 | US20100076291A1 | US20100076292A1 | US20100076293A1 | US20120053428A1 | US20140107436A1 | US20180271419A1 | US8617069 | WO2008157821A1
简单同族成员数量
29
简单同族被引用专利总数
202
诉讼案件数
0
法律状态/事件
授权 | 权利转移
抱歉,您的浏览器不支持PDF预览,请点击链接下载PDF文件