专利数据库
统计分析
产业报告
专利数据监控
产业人才
行业动态
产业政策法规
维权援助
个人中心
详情
文本
图像
标题
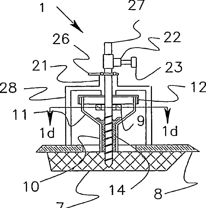
System and method for intracranial access and monitoring
授权日
1900-01-01
公开(公告)号
US20040243145A1
申请日
2004-05-26
公开(公告)日
2004-12-02
当前申请(专利权)人
IRRAS USA, INC.
发明人
BOBO, DONALD E. SR. | GERG, JAMES
简单同族
EP1633233A2 | EP1633233A4 | US10695001 | US20040243145A1 | US20100241132A1 | US20160100894A1 | US7780679 | US9232921 | WO2004107953A2 | WO2004107953A3
简单同族成员数量
10
简单同族被引用专利总数
67
诉讼案件数
0
法律状态/事件
授权 | 权利转移
抱歉,您的浏览器不支持PDF预览,请点击链接下载PDF文件