专利数据库
统计分析
产业报告
专利数据监控
产业人才
行业动态
产业政策法规
维权援助
个人中心
详情
文本
图像
标题
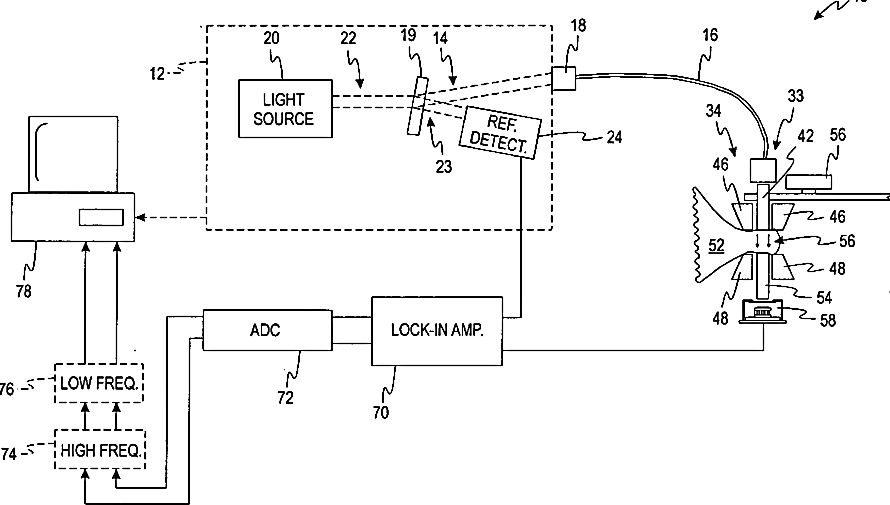
System for determining the concentration of an analyte
授权日
1900-01-01
公开(公告)号
US20080045821A1
申请日
2007-10-12
公开(公告)日
2008-02-21
当前申请(专利权)人
ASCENSIA DIABETES CARE HOLDINGS AG
发明人
REBEC, MIHAILO V. | SMOUS, JAMES E. | BROWN, STEVEN D. | TAN, HU-WEI
简单同族
AU2003200359A1 | CA2418399A1 | EP1335199A1 | EP2400288A1 | JP2003235832A | JP2003235832A5 | JP4476552B2 | US20040092804A1 | US20080045820A1 | US20080045821A1 | US20130261406A1 | US7299079 | US8160666 | US8452359 | US9554735
简单同族成员数量
15
简单同族被引用专利总数
201
诉讼案件数
0
法律状态/事件
授权 | 权利转移
抱歉,您的浏览器不支持PDF预览,请点击链接下载PDF文件