专利数据库
统计分析
产业报告
专利数据监控
产业人才
行业动态
产业政策法规
维权援助
个人中心
详情
文本
图像
标题
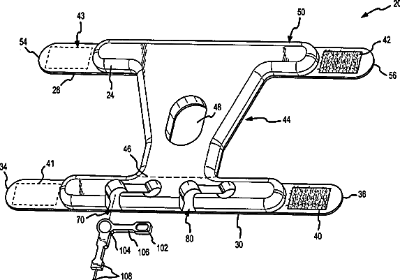
Neonatal bootie wrap
授权日
2007-03-13
公开(公告)号
US7190987
申请日
2003-03-21
公开(公告)日
2007-03-13
当前申请(专利权)人
DATEX-OHMEDA, INC.
发明人
LINDEKUGEL, ERIC | MEDINA, LILY ANJANETTE | RALEY, DENA
简单同族
AU2003225943A1 | AU2003225943A8 | CN100350870C | CN1642471A | EP1489963A2 | EP1489963A4 | JP2005525852A | JP4188844B2 | US20030181799A1 | US7190987 | WO2003080152A2 | WO2003080152A3
简单同族成员数量
12
简单同族被引用专利总数
174
诉讼案件数
0
法律状态/事件
授权 | 权利转移
抱歉,您的浏览器不支持PDF预览,请点击链接下载PDF文件