专利数据库
统计分析
产业报告
专利数据监控
产业人才
行业动态
产业政策法规
维权援助
个人中心
详情
文本
图像
标题
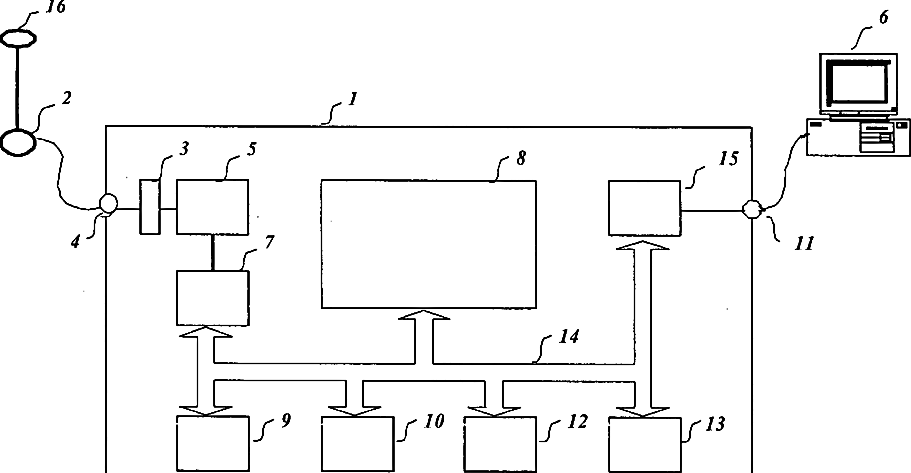
System for performing an analysis of pressure-signals derivable from pressure measurements on or in a body
授权日
1900-01-01
公开(公告)号
US20070060836A1
申请日
2006-11-17
公开(公告)日
2007-03-15
当前申请(专利权)人
SENSOMETRICS AS
发明人
EIDE, PER KRISTIAN
简单同族
AU2002251604A1 | AU2002251604B2 | CA2444251A1 | CA2444251C | CN1522125A | EP1383424A1 | EP1383424B1 | IL158349A | IL158349D0 | JP2004528104A | JP2004528104A5 | JP4315321B2 | KR100888765B1 | KR1020040015221A | US20020161304A1 | US20030100845A1 | US20070060835A1 | US20070060836A1 | US20090326411A1 | US7198602 | US7335162 | US7775985 | US8016763 | WO2002087435A1
简单同族成员数量
24
简单同族被引用专利总数
187
诉讼案件数
0
法律状态/事件
未缴年费
抱歉,您的浏览器不支持PDF预览,请点击链接下载PDF文件