专利数据库
统计分析
产业报告
专利数据监控
产业人才
行业动态
产业政策法规
维权援助
个人中心
详情
文本
图像
标题
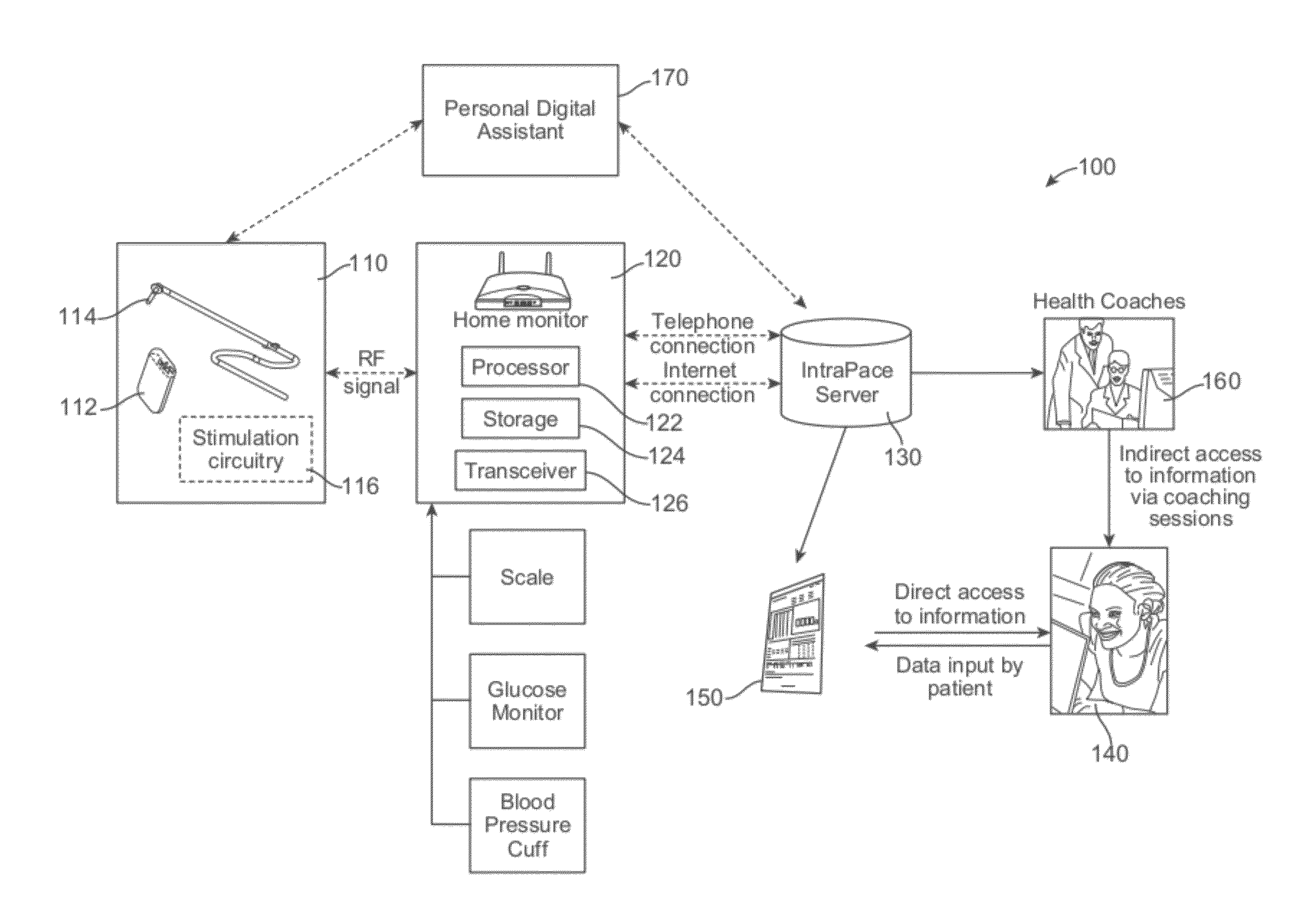
Feedback systems and methods for communicating diagnostic and/or treatment signals to enhance obesity treatments
授权日
2014-05-06
公开(公告)号
US8715181
申请日
2012-04-27
公开(公告)日
2014-05-06
当前申请(专利权)人
INTRAPACE, INC.
发明人
BRYNELSEN, CHARLES R. | VOLZING, MACE | PROVINCE, ROSE | HEDMAN, MIKE | HILLS, MATTHEW
简单同族
AU2010232398A1 | AU2010232398B2 | AU2010232407A1 | AU2010232407B2 | CA2757599A1 | CA2757599C | CA2757612A1 | CA2974259A1 | CN102448365A | CN102448365B | CN102448538A | CN102448538B | EP2413785A1 | EP2413785A4 | EP2414032A1 | EP2414032A4 | US20110034760A1 | US20110087076A1 | US20120214140A1 | US20140295390A1 | US8715181 | WO2010115194A1 | WO2010115203A1 | WO2010115203A9
简单同族成员数量
24
简单同族被引用专利总数
204
诉讼案件数
0
法律状态/事件
授权 | 质押
抱歉,您的浏览器不支持PDF预览,请点击链接下载PDF文件