专利数据库
统计分析
产业报告
专利数据监控
产业人才
行业动态
产业政策法规
维权援助
个人中心
详情
文本
图像
标题
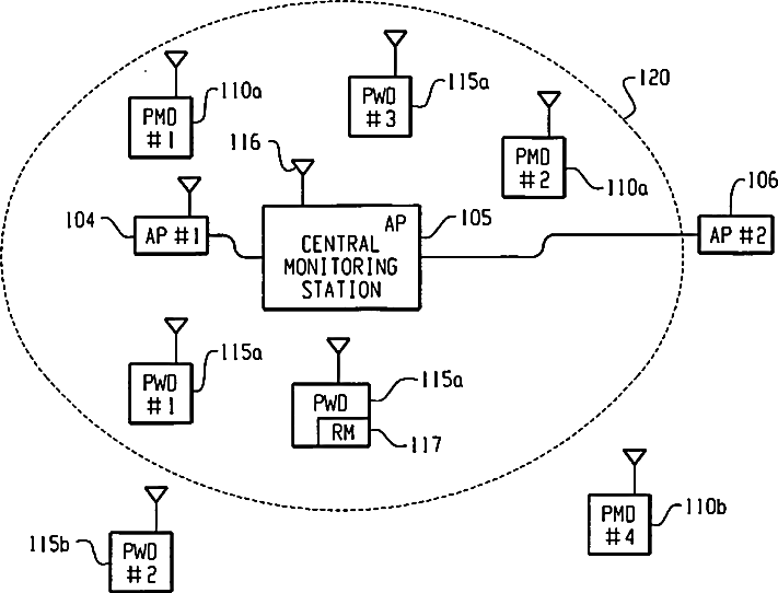
Method and Associated System for Wireless Medical Monitoring and Patient Monitoring Device
授权日
1900-01-01
公开(公告)号
US20080154503A1
申请日
2005-02-01
公开(公告)日
2008-06-26
当前申请(专利权)人
KONINKLIJKE PHILIPS ELECTRONICS N V
发明人
WITTENBER, JAN | BARGA, JOHN L. | ROSNOV, BRIAN S. | KOSCHEK, ANDREW G.
简单同族
CN103892803A | CN103892803B | CN1957560A | EP1719293A1 | JP2007527166A | JP5069472B2 | US20080154503A1 | WO2005083940A1
简单同族成员数量
8
简单同族被引用专利总数
171
诉讼案件数
0
法律状态/事件
撤回 | 权利转移
抱歉,您的浏览器不支持PDF预览,请点击链接下载PDF文件