专利数据库
统计分析
产业报告
专利数据监控
产业人才
行业动态
产业政策法规
维权援助
个人中心
详情
文本
图像
标题
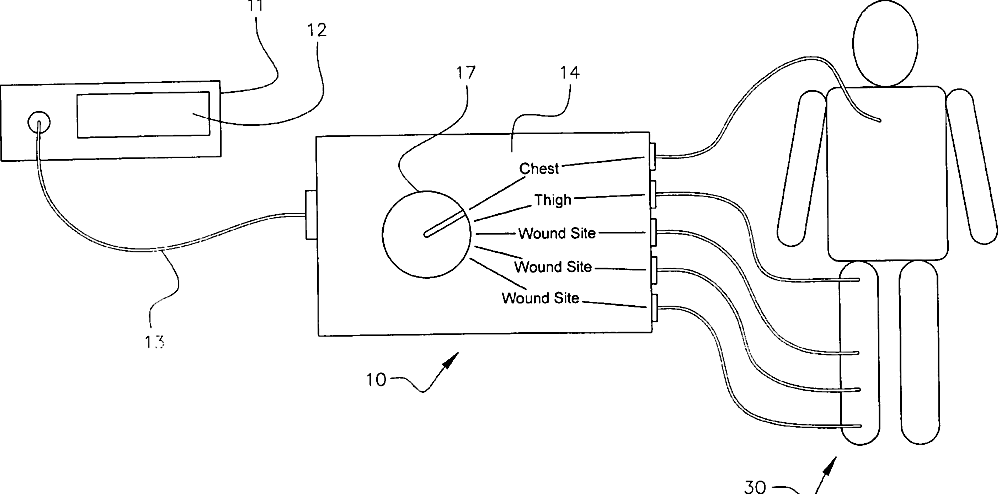
Switching device for an array of multiple medical sensors
授权日
2003-07-08
公开(公告)号
US6589172
申请日
2001-08-17
公开(公告)日
2003-07-08
当前申请(专利权)人
WILLIAMS, JOAN
发明人
WILLIAMS, GLENN | WILLIAMS, BILL
简单同族
US20010051767A1 | US6510331 | US6589172
简单同族成员数量
3
简单同族被引用专利总数
196
诉讼案件数
0
法律状态/事件
未缴年费 | 权利转移
抱歉,您的浏览器不支持PDF预览,请点击链接下载PDF文件