专利数据库
统计分析
产业报告
专利数据监控
产业人才
行业动态
产业政策法规
维权援助
个人中心
详情
文本
图像
标题
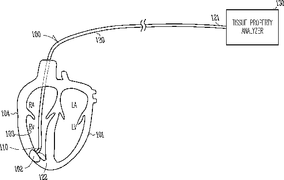
Method and apparatus for localizing myocardial infarction during catheterization
授权日
2015-04-14
公开(公告)号
US9008746
申请日
2009-12-01
公开(公告)日
2015-04-14
当前申请(专利权)人
CARDIAC PACEMAKERS, INC.
发明人
PASTORE, JOSEPH M. | GIROUARD, STEVEN D.
简单同族
US20050283195A1 | US20100081948A1 | US7640046 | US9008746
简单同族成员数量
4
简单同族被引用专利总数
129
诉讼案件数
0
法律状态/事件
未缴年费
抱歉,您的浏览器不支持PDF预览,请点击链接下载PDF文件