专利数据库
统计分析
产业报告
专利数据监控
产业人才
行业动态
产业政策法规
维权援助
个人中心
详情
文本
图像
标题
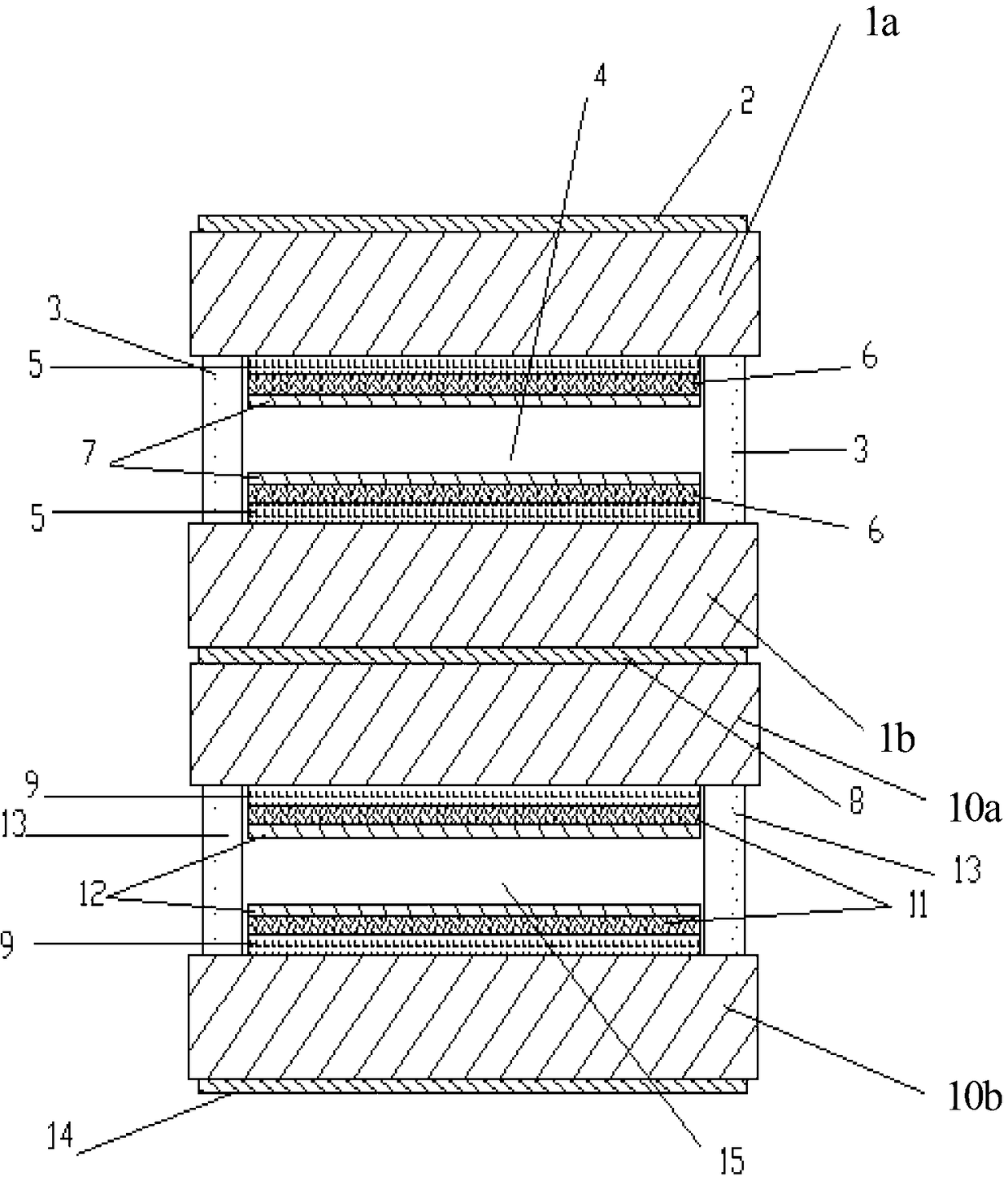
一种无源驱动向列型液晶显示器面板
授权日
1900-01-01
公开(公告)号
CN102778785A
申请日
2012-08-29
公开(公告)日
2012-11-14
当前申请(专利权)人
信利半导体有限公司
发明人
侯文波 | 李建华
简单同族
CN102778785A
简单同族成员数量
1
简单同族被引用专利总数
0
诉讼案件数
0
法律状态/事件
驳回
抱歉,您的浏览器不支持PDF预览,请点击链接下载PDF文件