专利数据库
统计分析
产业报告
专利数据监控
产业人才
行业动态
产业政策法规
维权援助
个人中心
详情
文本
图像
标题
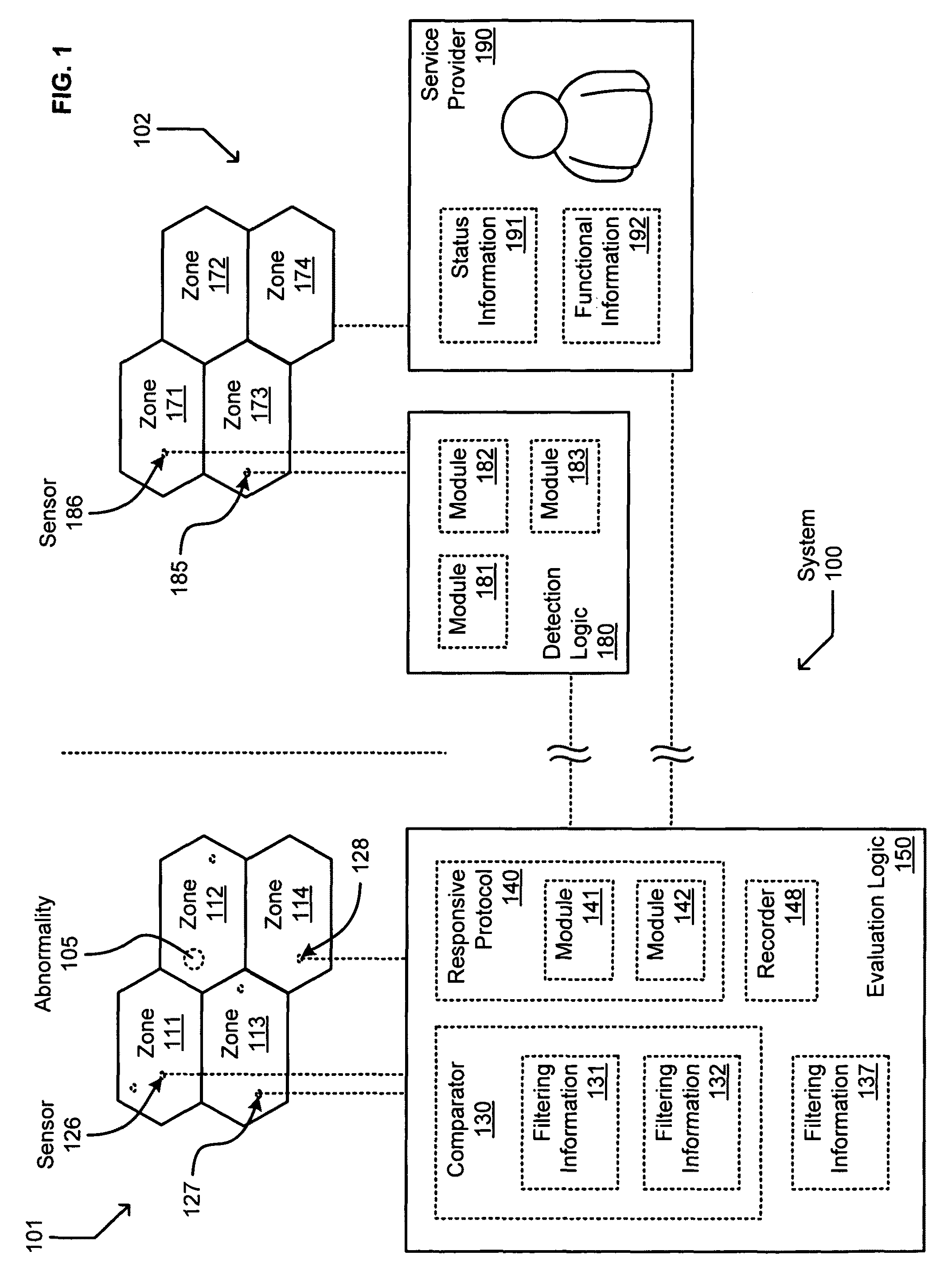
Circulatory monitoring systems and methods
授权日
2014-01-28
公开(公告)号
US8636670
申请日
2008-05-13
公开(公告)日
2014-01-28
当前申请(专利权)人
GEARBOX, LLC
发明人
FERREN, BRAN | HAGEN, JEFFREY JOHN | HYDE, RODERICK A. | ISHIKAWA, MURIEL Y. | LEUTHARDT, ERIC C. | RIVET, DENNIS J. | WOOD, JR., LOWELL L. | WOOD, VICTORIA Y. H.
简单同族
US20090284378A1 | US8636670
简单同族成员数量
2
简单同族被引用专利总数
82
诉讼案件数
0
法律状态/事件
未缴年费 | 权利转移
抱歉,您的浏览器不支持PDF预览,请点击链接下载PDF文件