专利数据库
统计分析
产业报告
专利数据监控
产业人才
行业动态
产业政策法规
维权援助
个人中心
详情
文本
图像
标题
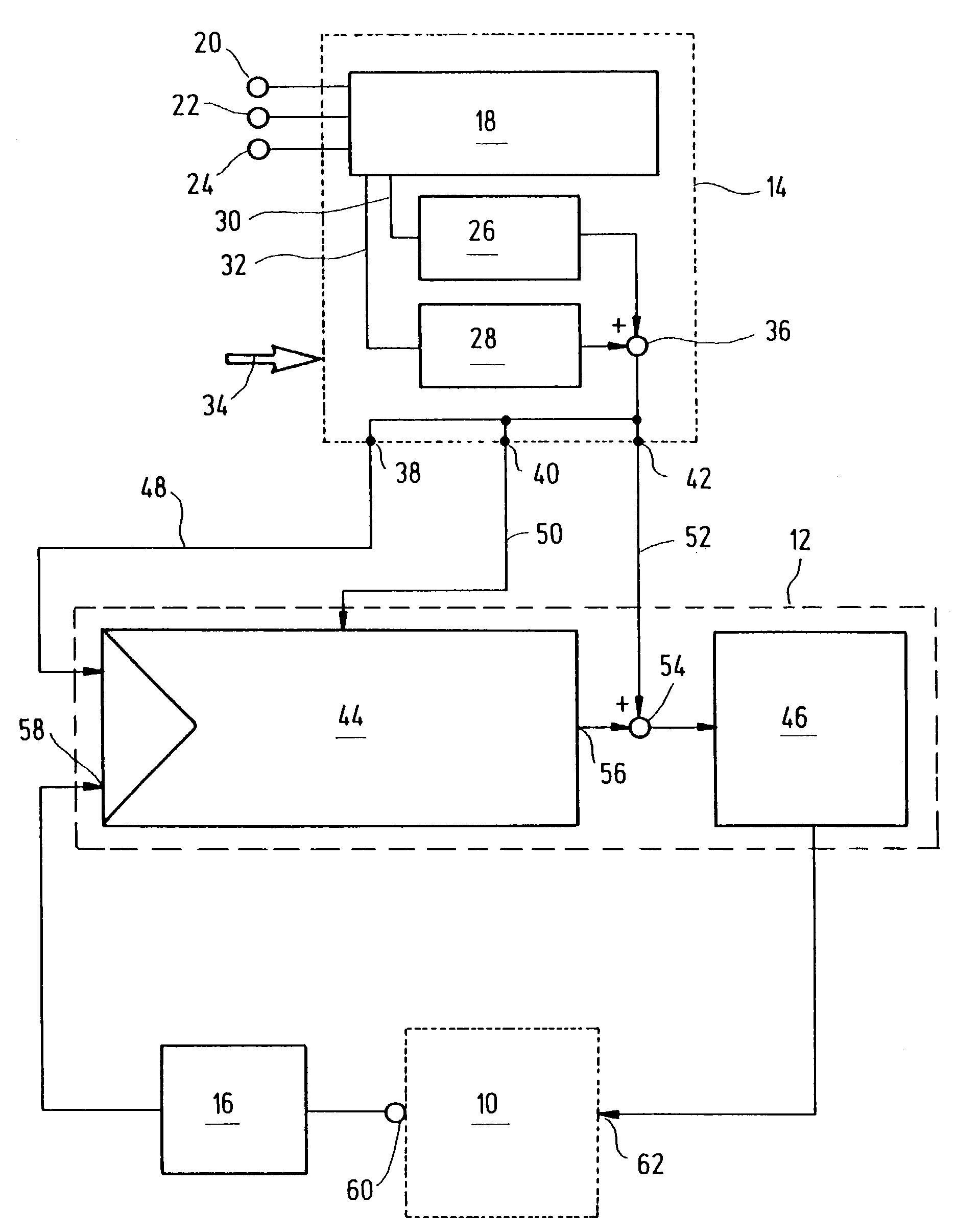
Array and method for dosing a hormone regulating blood sugar in a patient
授权日
2009-07-07
公开(公告)号
US7556613
申请日
2001-01-20
公开(公告)日
2009-07-07
当前申请(专利权)人
ROCHE DIABETES CARE, INC.
发明人
WITTMANN, UWE | RINNE, HELMUT | GESSLER, RALF | PFLEIDERER, HANS-JOERG
简单同族
AT327786T | DE10006044A1 | DE50109952D1 | EP1255578A1 | EP1255578B1 | ES2264447T3 | JP2004502474A | JP2004502474A5 | JP4226823B2 | US20030104982A1 | US20090254024A1 | US7556613 | US7806853 | WO2001058511A1
简单同族成员数量
14
简单同族被引用专利总数
161
诉讼案件数
0
法律状态/事件
授权 | 权利转移
抱歉,您的浏览器不支持PDF预览,请点击链接下载PDF文件