专利数据库
统计分析
产业报告
专利数据监控
产业人才
行业动态
产业政策法规
维权援助
个人中心
详情
文本
图像
标题
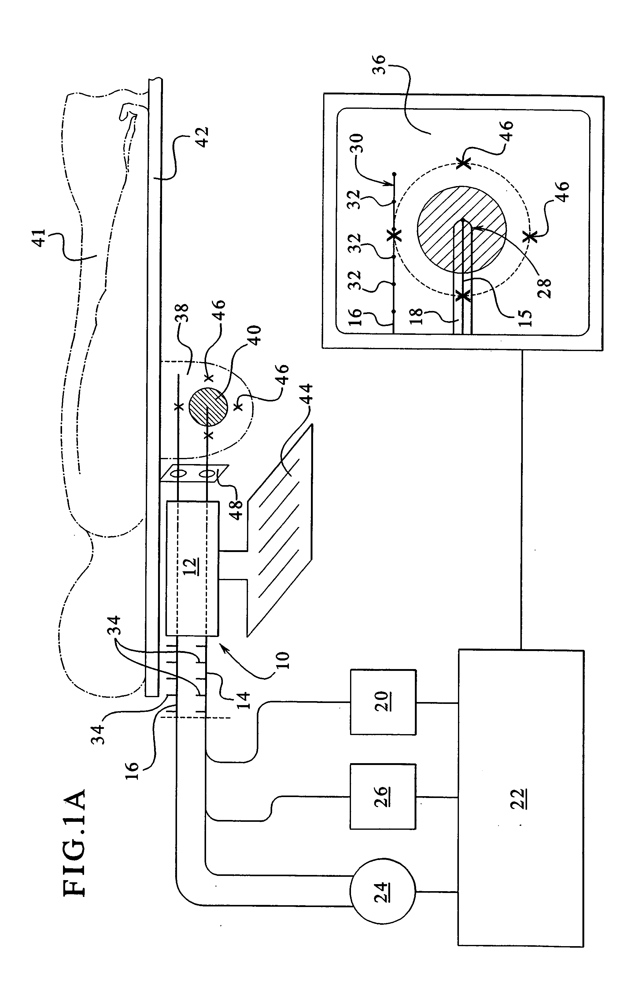
Apparatus and method for delivering ablative laser energy and determining the volume of tumor mass destroyed
授权日
1900-01-01
公开(公告)号
US20050137467A1
申请日
2005-02-14
公开(公告)日
2005-06-23
当前申请(专利权)人
NOVIAN HEALTH, INC.
发明人
DOWLATSHAHI, KAMBIZ
简单同族
AT11291U1 | AT367774T | AU2002303314A1 | AU2002303314B2 | BRPI0208877A2 | BRPI0208877B1 | CA2443739A1 | CA2443739C | CN1263422C | CN1511011A | DE20221877U1 | DE60221371D1 | DE60221371T2 | EP1377210A1 | EP1377210A4 | EP1377210B1 | ES2290301T3 | JP2004530469A | JP2004530469A5 | JP4338976B2 | MXPA03009295A | NZ529478A | NZ529478B | RU2003133134A | US20020151778A1 | US20030083566A1 | US20040152967A1 | US20050137467A1 | US20070100229A1 | US20100274125A1 | US6603988 | US6701175 | US6865412 | US7171253 | US7725155 | WO2002082993A1 | ZA200307987B
简单同族成员数量
37
简单同族被引用专利总数
147
诉讼案件数
0
法律状态/事件
授权 | 权利转移
抱歉,您的浏览器不支持PDF预览,请点击链接下载PDF文件