专利数据库
统计分析
产业报告
专利数据监控
产业人才
行业动态
产业政策法规
维权援助
个人中心
详情
文本
图像
标题
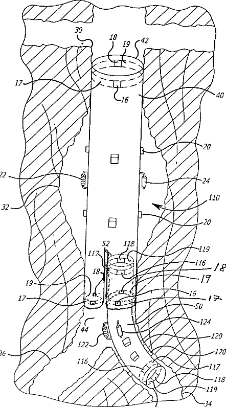
Endovascular graft with pressure, temperature, flow and voltage sensors
授权日
1900-01-01
公开(公告)号
US20030229388A1
申请日
2002-06-07
公开(公告)日
2003-12-11
当前申请(专利权)人
LIFESHIELD SCIENCES LLC
发明人
HAYASHI, REID K. | CONCEMI, ALFRED
简单同族
EP1511446A1 | EP1511446A4 | EP1511446B1 | US20030229388A1 | US20060149347A1 | US7025778 | WO2003103542A1
简单同族成员数量
7
简单同族被引用专利总数
71
诉讼案件数
0
法律状态/事件
未缴年费 | 权利转移
抱歉,您的浏览器不支持PDF预览,请点击链接下载PDF文件