专利数据库
统计分析
产业报告
专利数据监控
产业人才
行业动态
产业政策法规
维权援助
个人中心
详情
文本
图像
标题
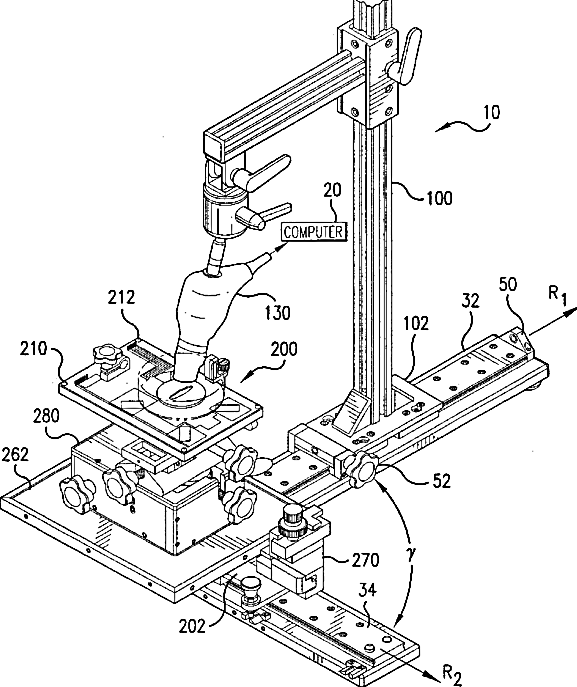
Integrated multi-rail imaging system
授权日
1900-01-01
公开(公告)号
US20070185396A1
申请日
2006-09-29
公开(公告)日
2007-08-09
当前申请(专利权)人
VISUALSONICS INC.
发明人
ZAN, LEO
简单同族
AU2003282810A1 | AU2003282810A8 | CA2501609A1 | CA2501609C | CA2939460A1 | CA2939460C | EP1551275A2 | EP1551275A4 | EP1551275B1 | HK1087316A1 | JP2006507843A | JP2009159986A | JP4331720B2 | JP5254867B2 | US20040102705A1 | US20040122324A1 | US20070185396A1 | US6851392 | US7133713 | WO2004032725A2 | WO2004032725A3
简单同族成员数量
21
简单同族被引用专利总数
75
诉讼案件数
0
法律状态/事件
撤回 | 权利转移
抱歉,您的浏览器不支持PDF预览,请点击链接下载PDF文件