专利数据库
统计分析
产业报告
专利数据监控
产业人才
行业动态
产业政策法规
维权援助
个人中心
详情
文本
图像
标题
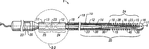
Guidewire with optical fiber
授权日
2009-05-12
公开(公告)号
US7532920
申请日
2001-05-31
公开(公告)日
2009-05-12
当前申请(专利权)人
ABBOTT CARDIOVASCULAR SYSTEMS INC.
发明人
AINSWORTH, ROBERT D. | KILPATRICK, DEBORAH | LEE, JEONG S. | HURLEY, BRIDGET A. | ELLIS, JEFFREY T. | JALISI, MARC | LIM, FLORENCIA | LONG, CHI
简单同族
US7532920
简单同族成员数量
1
简单同族被引用专利总数
170
诉讼案件数
0
法律状态/事件
授权 | 权利转移
抱歉,您的浏览器不支持PDF预览,请点击链接下载PDF文件