专利数据库
统计分析
产业报告
专利数据监控
产业人才
行业动态
产业政策法规
维权援助
个人中心
详情
文本
图像
标题
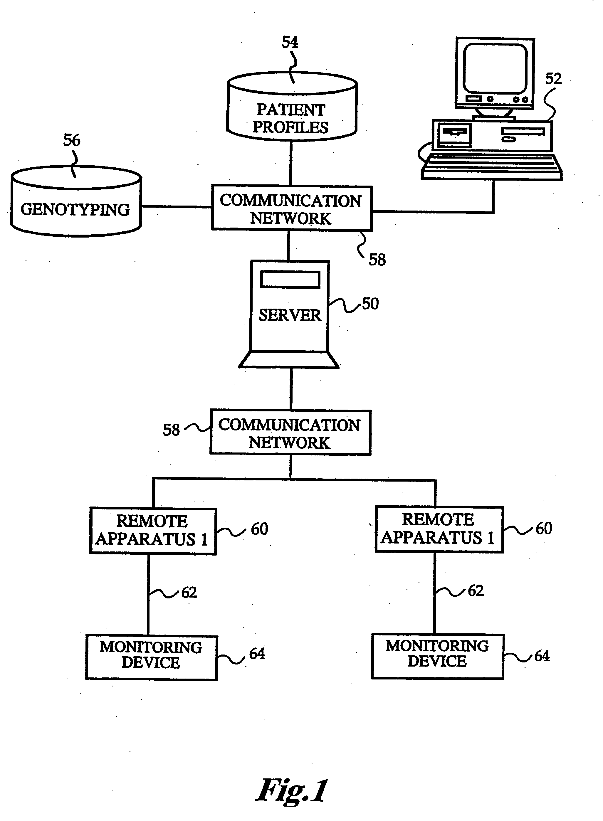
System and method for identifying disease-influencing genes
授权日
1900-01-01
公开(公告)号
US20060200319A1
申请日
2006-02-23
公开(公告)日
2006-09-07
当前申请(专利权)人
-
发明人
BROWN, STEPHEN JAMES
简单同族
US20060200319A1 | US8078407
简单同族成员数量
2
简单同族被引用专利总数
66
诉讼案件数
0
法律状态/事件
撤回
抱歉,您的浏览器不支持PDF预览,请点击链接下载PDF文件