专利数据库
统计分析
产业报告
专利数据监控
产业人才
行业动态
产业政策法规
维权援助
个人中心
详情
文本
图像
标题
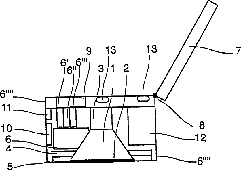
Device for verifying and monitoring vital parameters of the body
授权日
1900-01-01
公开(公告)号
US20050014999A1
申请日
2002-07-24
公开(公告)日
2005-01-20
当前申请(专利权)人
SUPER SHINE VENTURES LTD
发明人
RAHE-MEYER, NIELS
简单同族
AT524102T | DE10136355A1 | EP1414335A2 | EP1414335B1 | JP2005508673A | JP2005508673A5 | JP4406560B2 | US20050014999A1 | US7955273 | WO2003011124A2 | WO2003011124A3
简单同族成员数量
11
简单同族被引用专利总数
179
诉讼案件数
0
法律状态/事件
未缴年费 | 权利转移
抱歉,您的浏览器不支持PDF预览,请点击链接下载PDF文件