专利数据库
统计分析
产业报告
专利数据监控
产业人才
行业动态
产业政策法规
维权援助
个人中心
详情
文本
图像
标题
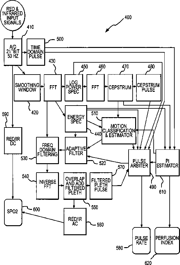
Cepstral domain pulse oximetry
授权日
2006-11-21
公开(公告)号
US7139599
申请日
2003-11-14
公开(公告)日
2006-11-21
当前申请(专利权)人
DATEX-OHMEDA, INC.
发明人
TERRY, ALVIN MARK
简单同族
AU2003216348A1 | EP1485015A1 | JP2005518238A | US20030163032A1 | US20040171948A1 | US6650918 | US7139599 | WO2003071941A1
简单同族成员数量
8
简单同族被引用专利总数
193
诉讼案件数
0
法律状态/事件
授权 | 权利转移
抱歉,您的浏览器不支持PDF预览,请点击链接下载PDF文件