专利数据库
统计分析
产业报告
专利数据监控
产业人才
行业动态
产业政策法规
维权援助
个人中心
详情
文本
图像
标题
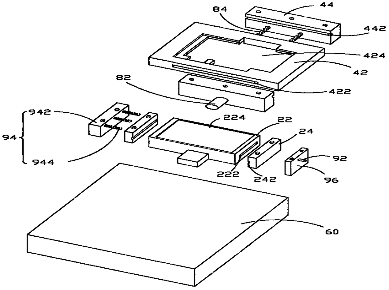
一种触摸板与液晶显示屏的贴合制具
授权日
1900-01-01
公开(公告)号
CN107783322A
申请日
2016-08-31
公开(公告)日
2018-03-09
当前申请(专利权)人
天津盛诺电子科技有限公司
发明人
肖亮灿
简单同族
CN107783322A
简单同族成员数量
1
简单同族被引用专利总数
0
诉讼案件数
0
法律状态/事件
撤回
抱歉,您的浏览器不支持PDF预览,请点击链接下载PDF文件