专利数据库
统计分析
产业报告
专利数据监控
产业人才
行业动态
产业政策法规
维权援助
个人中心
详情
文本
图像
标题
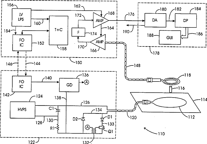
System, method and apparatus for evaluating tissue temperature
授权日
1900-01-01
公开(公告)号
US20060030912A1
申请日
2005-09-30
公开(公告)日
2006-02-09
当前申请(专利权)人
APSARA MEDICAL CORPORATION
发明人
EGGERS, PHILIP E. | RIDIHALGH, JOHN L. | MAYERCHAK, MARK | ALTMAN, GARY
简单同族
EP1618359A2 | US20040122494A1 | US20060020312A1 | US20060030912A1 | US7048756 | US7684871 | US7695505 | WO2004097356A2 | WO2004097356A3
简单同族成员数量
9
简单同族被引用专利总数
188
诉讼案件数
0
法律状态/事件
未缴年费 | 权利转移
抱歉,您的浏览器不支持PDF预览,请点击链接下载PDF文件