专利数据库
统计分析
产业报告
专利数据监控
产业人才
行业动态
产业政策法规
维权援助
个人中心
详情
文本
图像
标题
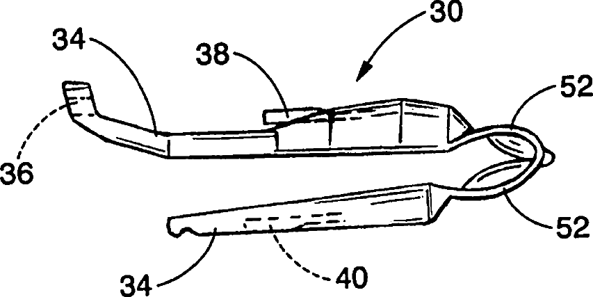
Bi-stable medical sensor and technique for using the same
授权日
1900-01-01
公开(公告)号
US20070032710A1
申请日
2005-08-08
公开(公告)日
2007-02-08
当前申请(专利权)人
COVIDIEN LP
发明人
RARIDAN, WILLIAM | MATLOCK, GEORGE | COAKLEY, JOSEPH | EGHBAL, DARIUS
简单同族
AU2006278399A1 | CA2618601A1 | CN101257849A | EP1926428A1 | JP2009504253A | TW200722052A | US20070032710A1 | US20070032712A1 | US20070032716A1 | US20090308531A1 | US20130330465A1 | US7590439 | US7657296 | US7693559 | US8528185 | US9216528 | WO2007019419A1
简单同族成员数量
17
简单同族被引用专利总数
182
诉讼案件数
0
法律状态/事件
未缴年费 | 权利转移
抱歉,您的浏览器不支持PDF预览,请点击链接下载PDF文件