专利数据库
统计分析
产业报告
专利数据监控
产业人才
行业动态
产业政策法规
维权援助
个人中心
详情
文本
图像
标题
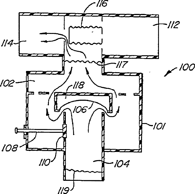
Systems and methods for enhancing blood circulation
授权日
1900-01-01
公开(公告)号
US20030037784A1
申请日
2002-08-19
公开(公告)日
2003-02-27
当前申请(专利权)人
ZOLL MEDICAL CORPORATION
发明人
LURIE, KEITH G.
简单同族
AU2002308587A1 | AU2002308587B2 | CA2447013A1 | CN1518470A | EP1387714A1 | EP1387714A4 | JP2004532681A | JP2004532681A5 | US20020069878A1 | US20020170562A1 | US20030037784A1 | US20040016428A9 | US20050199237A1 | US6604523 | US6986349 | US7204251 | US7210480 | WO2002092169A1 | WO2002092169A9
简单同族成员数量
19
简单同族被引用专利总数
219
诉讼案件数
0
法律状态/事件
未缴年费 | 权利转移
抱歉,您的浏览器不支持PDF预览,请点击链接下载PDF文件