专利数据库
统计分析
产业报告
专利数据监控
产业人才
行业动态
产业政策法规
维权援助
个人中心
详情
文本
图像
标题
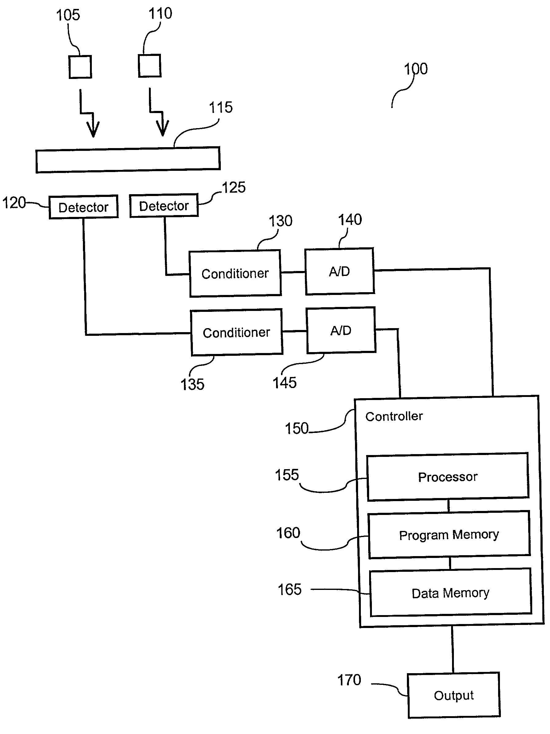
Method and apparatus for pulse oximetry
授权日
1900-01-01
公开(公告)号
US20030069487A1
申请日
2001-10-10
公开(公告)日
2003-04-10
当前申请(专利权)人
WELCH ALLYN, INC.
发明人
MORTARA, DAVID W.
简单同族
US20030069487A1 | US6564077
简单同族成员数量
2
简单同族被引用专利总数
189
诉讼案件数
0
法律状态/事件
授权 | 质押 | 权利转移
抱歉,您的浏览器不支持PDF预览,请点击链接下载PDF文件