专利数据库
统计分析
产业报告
专利数据监控
产业人才
行业动态
产业政策法规
维权援助
个人中心
详情
文本
图像
标题
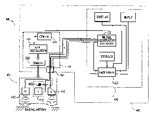
Smart physiologic parameter sensor and method
授权日
2004-01-13
公开(公告)号
US6676600
申请日
2000-08-31
公开(公告)日
2004-01-13
当前申请(专利权)人
TENSYS MEDICAL, INC.
发明人
CONERO, RONALD S. | GALLANT, STUART L.
简单同族
US20050049501A1 | US6676600
简单同族成员数量
2
简单同族被引用专利总数
194
诉讼案件数
0
法律状态/事件
授权 | 质押 | 权利转移
抱歉,您的浏览器不支持PDF预览,请点击链接下载PDF文件