专利数据库
统计分析
产业报告
专利数据监控
产业人才
行业动态
产业政策法规
维权援助
个人中心
详情
文本
图像
标题
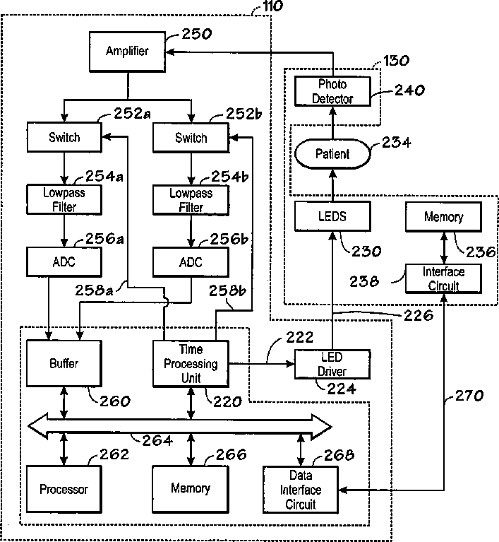
Method and circuit for storing and providing historical physiological data
授权日
2011-08-16
公开(公告)号
US8000760
申请日
2006-06-01
公开(公告)日
2011-08-16
当前申请(专利权)人
COVIDIEN LP
发明人
MANNHEIMER, PAUL D. | FEIN, MICHAEL E. | FEIN, LEGAL REPRESENTATIVE, MARCIA
简单同族
AT392852T | AU2001086939A1 | AU2001286939A1 | AU2001286939B2 | CA2419494A1 | CA2419494C | DE60133748D1 | DE60133748T2 | EP1315446A1 | EP1315446B1 | ES2305101T3 | JP2004507307A | US20020095077A1 | US20040006261A1 | US20060025660A1 | US20060030762A1 | US20060030765A1 | US20070043269A1 | US20070043270A1 | US20070043271A1 | US20070043272A1 | US20070043273A1 | US20070043274A1 | US20070043275A1 | US20070043276A1 | US20070043277A1 | US20070043278A1 | US20070043279A1 | US20070043280A1 | US20070043282A1 | US20070049810A1 | US20070088207A1 | US20110066015A1 | US20140343375A1 | US20140350415A1 | US20180042560A1 | US6606510 | US7764983 | US7881761 | US7904131 | US7957781 | US7983729 | US8000760 | US8010173 | US8060170 | US8064974 | US8078247 | US8090425 | US8095195 | US8112136 | US8112137 | US8185178 | US9844348 | WO2002017778A1
简单同族成员数量
54
简单同族被引用专利总数
394
诉讼案件数
0
法律状态/事件
授权 | 权利转移
抱歉,您的浏览器不支持PDF预览,请点击链接下载PDF文件