专利数据库
统计分析
产业报告
专利数据监控
产业人才
行业动态
产业政策法规
维权援助
个人中心
详情
文本
图像
标题
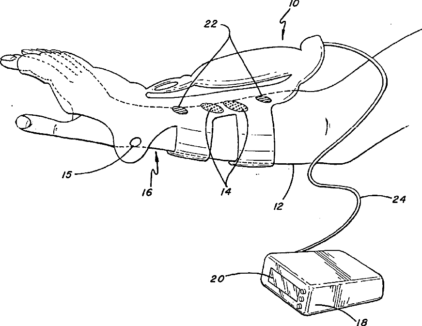
System and method for neuromuscular reeducation
授权日
1900-01-01
公开(公告)号
US20100198115A1
申请日
2010-04-12
公开(公告)日
2010-08-05
当前申请(专利权)人
MOTUS NOVA, LLC
发明人
KOENEMAN, EDWARD J. | KOENEMAN, JAMES B. | HERRING, DONALD E. | SCHULTZ, ROBERT S.
简单同族
AU2003297652A1 | US20040267331A1 | US20100198115A1 | US7725175 | US8214029 | WO2004050172A1
简单同族成员数量
6
简单同族被引用专利总数
179
诉讼案件数
0
法律状态/事件
授权 | 质押 | 权利转移
抱歉,您的浏览器不支持PDF预览,请点击链接下载PDF文件