专利数据库
统计分析
产业报告
专利数据监控
产业人才
行业动态
产业政策法规
维权援助
个人中心
详情
文本
图像
标题
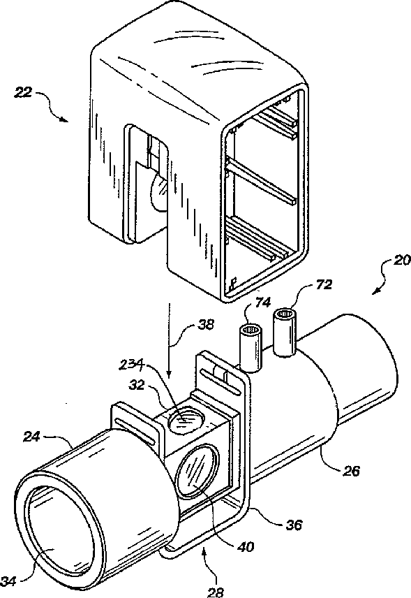
Multiple function airway adapter
授权日
1900-01-01
公开(公告)号
US20020029003A1
申请日
2001-04-24
公开(公告)日
2002-03-07
当前申请(专利权)人
RIC INVESTMENTS, LLC.
发明人
MACE, LESLIE E. | LABUDA, LAWRENCE L. | BLAZEWICZ, PERRY R. | RICH, DAVID R. | JAFFE, MICHAEL B. | ORR, JOSEPH A. | KOFOED, SCOTT A.
简单同族
AT492210T | DE60238670D1 | EP1383428A1 | EP1383428B1 | JP2004536629A | JP2009028551A | JP2009028551A5 | JP4263488B2 | JP5210771B2 | US20020029003A1 | US7335164 | WO2002085207A1
简单同族成员数量
12
简单同族被引用专利总数
179
诉讼案件数
0
法律状态/事件
未缴年费 | 权利转移
抱歉,您的浏览器不支持PDF预览,请点击链接下载PDF文件